碰碰车结构

碰碰车结构-水印
图片尺寸750x550
厂家直销新款地网碰碰车儿童玻璃钢电动双人旋转广场碰碰车设备
图片尺寸1024x768
一种新型碰碰车的制作方法
图片尺寸444x259
火星漂移碰碰车结构示意图
图片尺寸600x492
广场双人碰碰车全套价格指导安装
图片尺寸600x489
批发玻璃钢外壳甲壳虫碰碰车儿童电瓶碰碰车在哪买
图片尺寸710x425
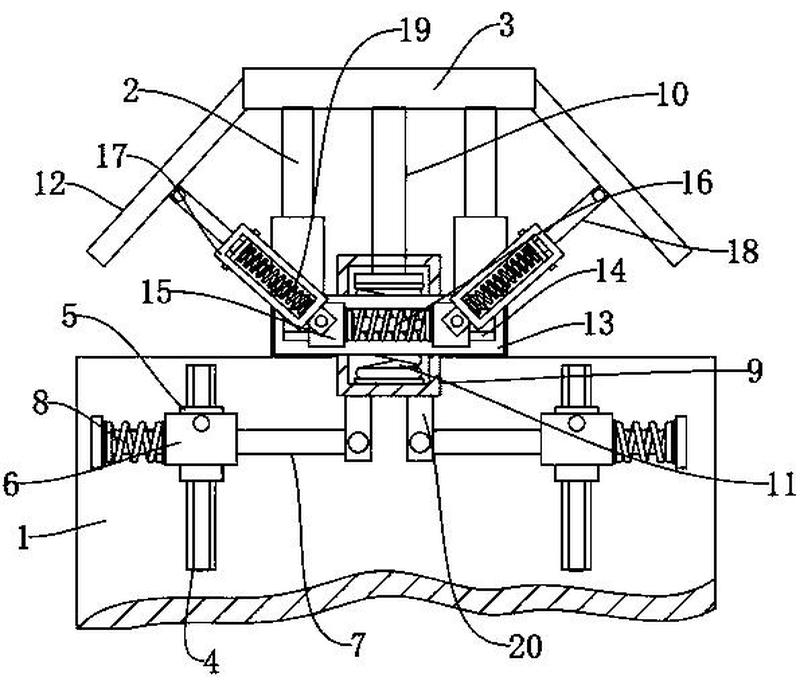
优化型碰碰车驱动底座的制作方法与工艺
图片尺寸713x1000
双人电瓶飞碟漂移碰碰车 儿童电动充气碰碰车 游乐场碰碰卡丁车
图片尺寸790x703
深圳市永康宝儿童游乐设备有限公司
图片尺寸990x1432
特征自行式碰碰车底部效果自行式碰碰车车架结构图纸描述自行式碰碰车
图片尺寸694x550
淘气堡用儿童游乐设备电动卡丁车碰碰车室外运动厂家直销可定制
图片尺寸1080x1080
广场户外大型碰碰车双人互动对战激光漂移碰碰车儿童游乐设备
图片尺寸750x591
所述座椅调节结构上安装有靠背调节结构;本实用新型涉及碰碰车技术
图片尺寸800x358
包括:车头,所述车头为矩形结构,本实用新型涉及碰碰车技术领域,当从
图片尺寸800x685
室内电玩乐园充电激光对战碰碰车
图片尺寸680x491
韩国媳妇蔡琳,二婚嫁给"萧剑",3年不告诉孩子爸爸是
图片尺寸635x438
园艺树乐园树乐园是以园艺文化为主题,通过平台结构搭配常绿乔木,藤
图片尺寸719x720
马上出发看风景!_长春_动植物公园_汽车
图片尺寸1080x707
世界上最大的10艘海上巨无霸航母在这里也只能垫底
图片尺寸640x426
马上出发看风景!_长春_动植物公园_汽车
图片尺寸810x810