碰锁原理

弹子锁锁死与开锁的原理是什么?_技点网
图片尺寸640x480
文章 指纹锁没选好,我家猫推门就走了 智能电子锁工作原理图 所以
图片尺寸568x466
银川
图片尺寸563x263
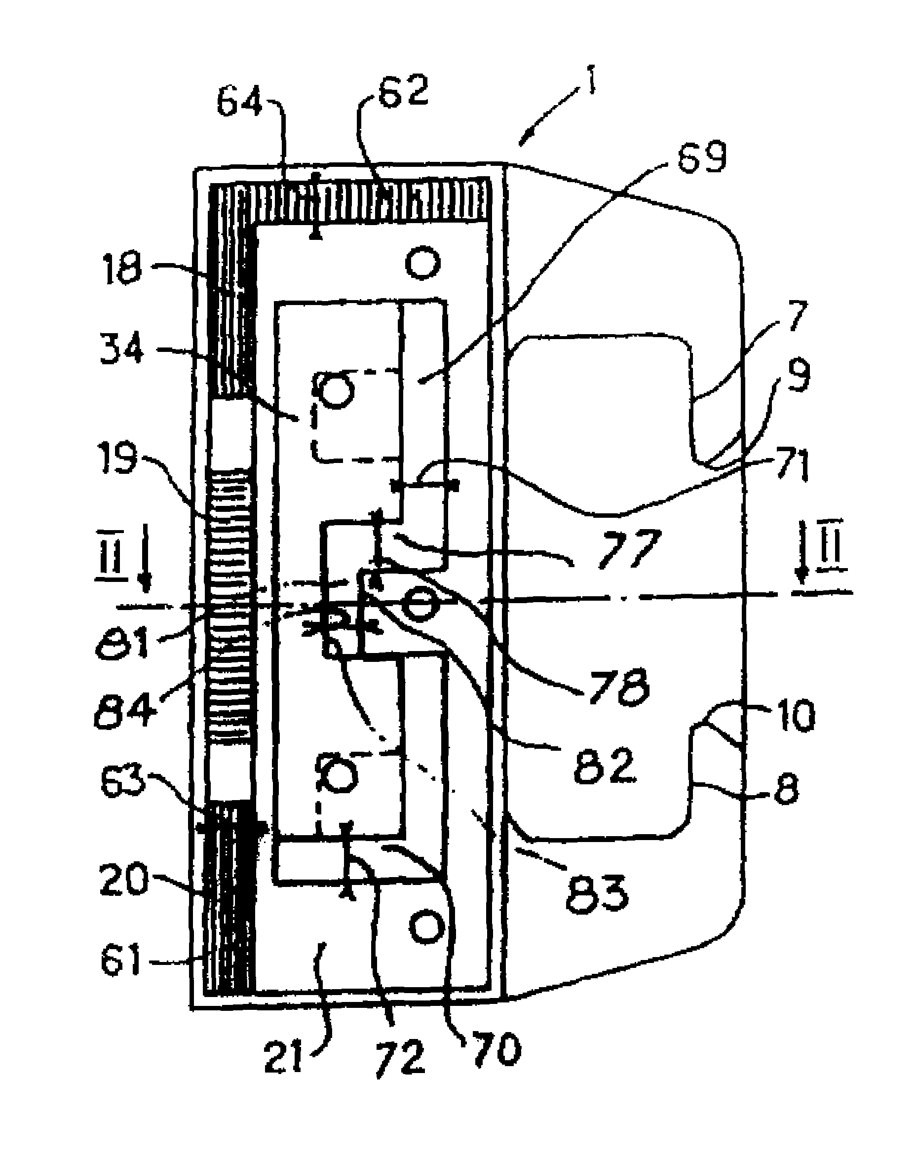
一种高空作业平台的双重防护自动碰锁机构的制作方法
图片尺寸444x314
cn204738634u_一种车门锁碰撞保护装置及汽车有效
图片尺寸1000x743
初二物理:如图所示为挂锁的工作原理,你能说出挂锁的工作原理吗?
图片尺寸500x276
cn2054936u_碰锁节电开关失效
图片尺寸2688x2496
防盗门锁舌不灵便,顺手关门时磕腾磕腾的,噪音很
图片尺寸522x432
外装门锁老式盗锁不锈钢大门老虎锁铁门木门推拉移动门自动碰锁 669
图片尺寸749x532
原来如此,钥匙,锁工作原理大揭密,涨知识啦!
图片尺寸500x380
老式老款碰锁#五金锁具 #门锁 #好物推荐97 #老物件老情 - 抖音
图片尺寸1358x1080
适用于滑动门窗之类的碰锁板
图片尺寸1856x2336
重型强力sk弹簧碰锁锁门档碰珠搭扣锁大力特殊用锁
图片尺寸650x650
直接上锁,这样的结构往往容易出现锁止部在没有完全进入自碰锁锁孔时
图片尺寸341x443
碰锁,2000系列,广州市花都区乐思富五金制品厂-乐斯特弗家具五金,家具
图片尺寸570x268
弹簧尼龙碰锁dk101-3pa机车门碰自动锁扣 公母卡扣 尼龙弹簧碰锁
图片尺寸1920x1920
外装老式双开大门移门老虎锁 推拉轨道门移动对开双扇门自动碰锁
图片尺寸750x417
烤箱门扣 烤箱门锁 专利门扣 防爆锁
图片尺寸500x458
按钮式碰锁 -五联工业五金
图片尺寸401x304
1178冷库门锁重型冷冻设备安全拉手工业碰锁把手烤箱烘箱铰链合页
图片尺寸800x800