碳化塔

碳化塔
图片尺寸600x338
碳化塔厂家生产工艺介绍
图片尺寸1000x1333
碳化塔
图片尺寸600x450
淄博悦诚机械有限公司
图片尺寸600x450
extraction column
图片尺寸400x533
化工塔碳化塔综合吸收塔来图加工定制
图片尺寸2048x1536
碳化塔生产厂家品质保证
图片尺寸640x480
优化碳化塔工况,均匀各塔负荷,调整碳化中温,提高转化率.
图片尺寸1080x648
外冷式碳化塔
图片尺寸500x375
产品中心 碳化塔
图片尺寸720x1280
东营/烟台关于冷却水塔,是一种将水冷却的装置
图片尺寸800x564
活性氢氧化钙
图片尺寸400x400
辽宁铁岭工业窑炉高温烟气脱硫塔活性炭光氧净化设备
图片尺寸720x1280
肇东新款微气泡氧化塔行情,供应微气泡氧化塔厂家电话
图片尺寸600x400
六安钢结构人工防腐施工公司
图片尺寸600x1066
灯塔,大型水库闸,供水塔,海上采油设施,罐车,球罐,贮槽,油箱,碳化塔
图片尺寸600x402
随着二期新增的石灰窑,碳化塔,轻灰煅烧炉等关键设备逐步投用,晶昊
图片尺寸760x665
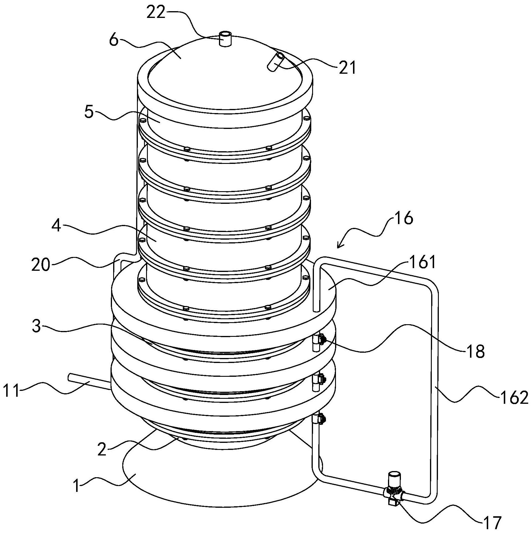
一种联合制碱用纯碱碳化塔
图片尺寸1810x1815
纯碱生产设备之碳化塔
图片尺寸1000x760
灯塔,大型水库闸,供水塔,海上采油设施,罐车,球罐,贮槽,油箱,碳化塔
图片尺寸429x554