碾米机简笔画

一种下进料立式砂辊碾米机
图片尺寸1016x1232
一种富硒大米生产用碾米机-爱企查
图片尺寸800x726
稻谷碾米机简笔画
图片尺寸500x890
碾米机圆角
图片尺寸701x939
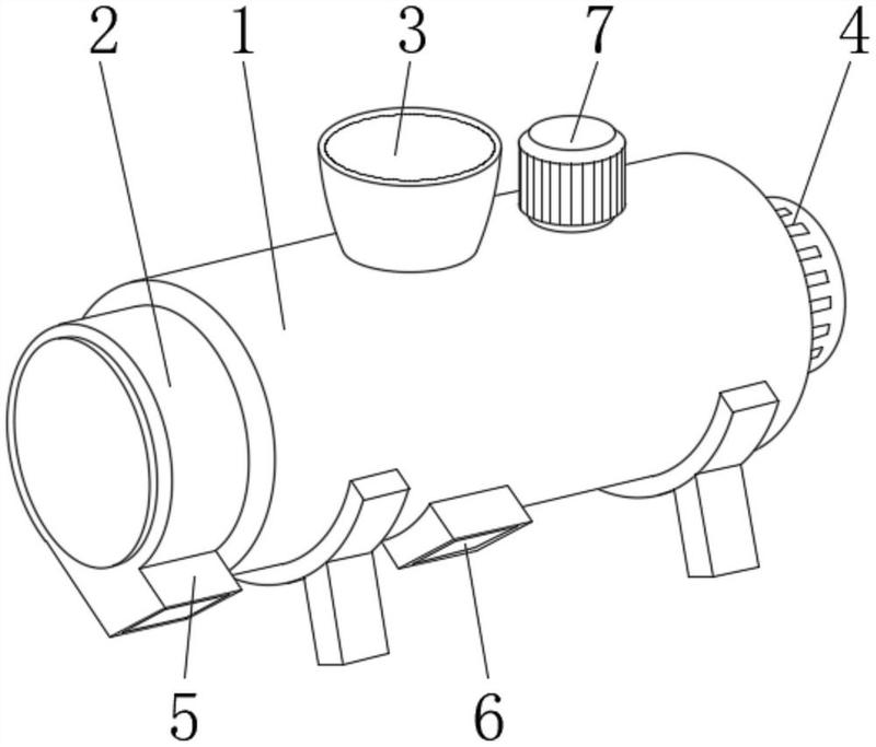
砂辊,转轴,电机,斜板,鼓风机,出料槽,出料门以及钢丝网,碾米机主体
图片尺寸800x454
一种碾米机-爱企查
图片尺寸518x800
第五步:碾米 农民把晒干的稻谷送进碾米机,谷壳与米自动分离
图片尺寸2252x2000
一种带进料控制功能的砂辊喷风碾米机制造技术
图片尺寸1000x890
一种多挤轻碾的留胚碾米机-爱企查
图片尺寸800x683
cn110935504a_一种农业机械用碾米机在审
图片尺寸1418x1898
碾米机
图片尺寸620x908
一种家用新型碾米机的制作方法
图片尺寸444x312
一种降低碎米率的碾米机-爱企查
图片尺寸796x800
下料较为均匀的碾米机的制作方法
图片尺寸711x1000
一种剥谷碾米机的制作方法
图片尺寸881x1000
一种碾米机
图片尺寸1845x1695
一种碾米机的制作方法
图片尺寸838x1000
碾米机圆角
图片尺寸327x700
cn110586223a_分离式碾米机在审
图片尺寸1000x988
cn211190309u_下料较为均匀的碾米机有效
图片尺寸708x1000