碾米简笔画

舂米简笔画碾米简笔画看过该简笔画的同学还看了:●米的简笔画●小米
图片尺寸349x399
第五步:碾米 农民把晒干的稻谷送进碾米机,谷壳与米自动分离
图片尺寸2252x2000
笔画怎样画简笔画大石碾谷子简笔画碾米机的简笔画谷子简笔画图片教程
图片尺寸499x339
智能碾米机能有效提高生活品质
图片尺寸640x679
粉米面
图片尺寸400x318
碾子简笔画推石碾子简笔画石碾子简笔画怎样画简笔画大石碾碾米简笔画
图片尺寸500x704
山西石碾碾米机价格 元宵碾子 传统双磙老石碾面粉机
图片尺寸751x582
本文摘自2018年《华西都市报》过年了,父亲又要打谷子碾米,忍不住放
图片尺寸1012x981
网络中国节61春节民俗漫画过年二
图片尺寸1080x763
碾米简笔画怎样画简笔画大石碾怎样画简笔画大石碾织布坊简笔画作坊简
图片尺寸500x704
拉磨 石磨 碾米 推磨牛拉磨|插画|商业插画|益人手绘 - 原创作品
图片尺寸1280x905
王亚富 农村老家通电之前,碾米磨面是靠人工加畜力完成的.
图片尺寸446x335
农家碾子简笔画
图片尺寸400x338
拿去教孩子,图文详解"粒粒皆辛苦"到底有多辛苦?
图片尺寸1080x810
一种富硒大米生产用碾米机-爱企查
图片尺寸800x726
碾米有两种方法,即:化学法和机械法化学法中,为首的是溶剂浸提碾米,它
图片尺寸395x444
图2-31,图2-32,图2-33是利用畜力砻谷,碾米,磨面的示意图,图2-34是
图片尺寸450x434
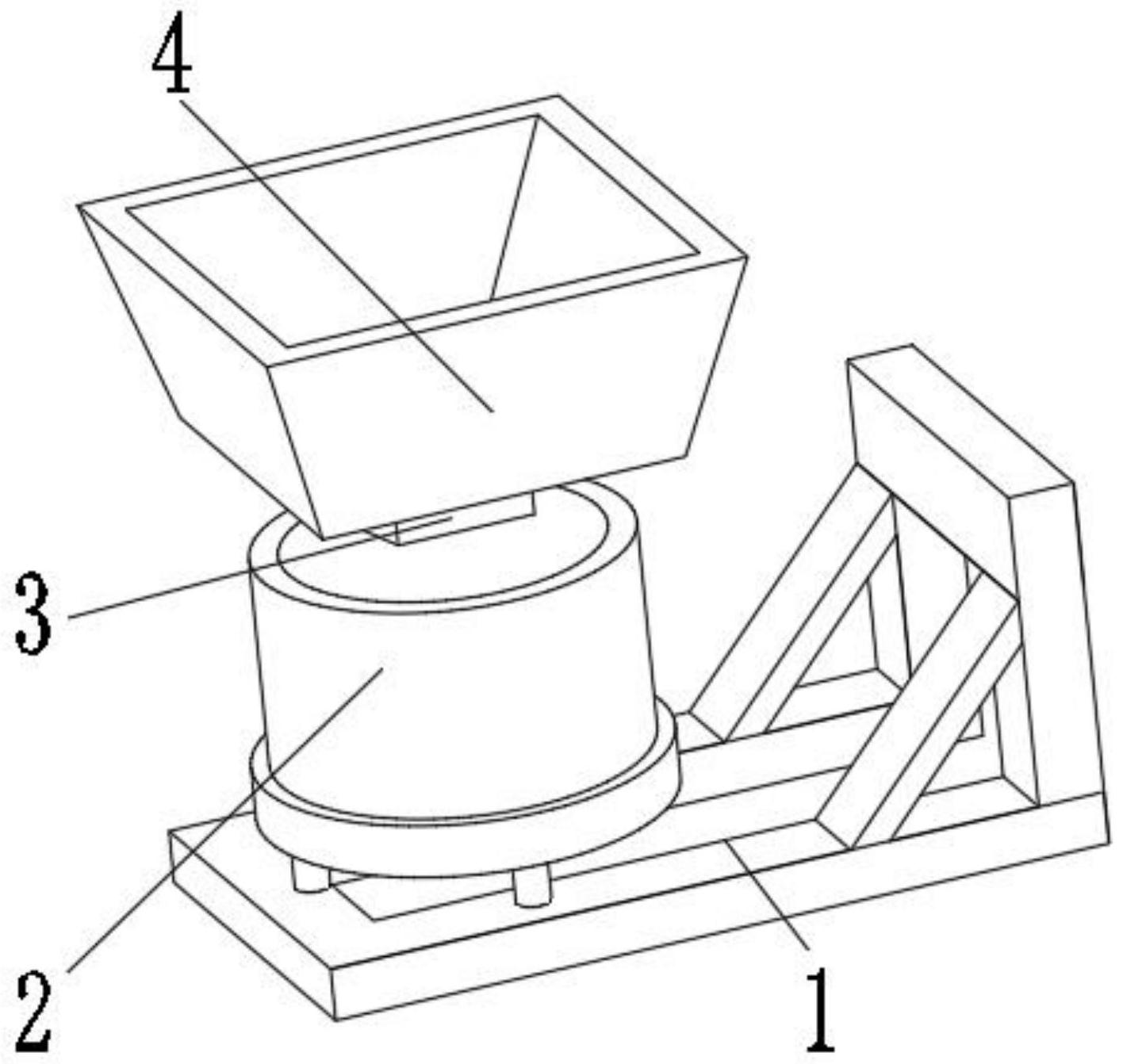
一种高效低耗智能化碾米装备
图片尺寸1416x1342
清理砻谷碾米米饭简笔画怎么画一粒米饭简笔画粮食米饭简笔画图片教程
图片尺寸342x342
哎呀,这大葱怎么变色了?创意简笔画,儿童画,少儿创意美术
图片尺寸1024x576