磁力棒简笔画

我们的磁力魔法世界记朗诗园区中一班线上课程磁铁世界
图片尺寸650x651
一种磁力棒-爱企查
图片尺寸800x471
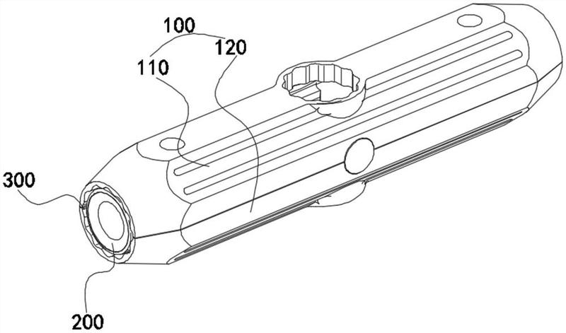
一种玩具磁力棒
图片尺寸1938x1453
铭塔mingta76粒磁力棒积木益智玩具大颗粒创意拼插磁性宝宝236岁婴幼
图片尺寸750x917
磁力棒巴克球组合套装1000颗魔力磁力球创意百变益智成人解压 - 抖音
图片尺寸800x800
38节礼物百变磁力棒积木套装抖音快手解压减压磁铁玩具sn5049长棒500
图片尺寸640x804
别看小小磁力棒,玩起来非常百变,拼出多种造型#磁力棒 #磁力 - 抖音
图片尺寸1440x1920
巴克球10000000颗圆形磁铁魔珠磁力球吸铁石彩色球玩具磁力棒减压
图片尺寸800x800
磁力棒新款加长百变吸铁石比赛益智散装磁性创意积木女男孩玩具
图片尺寸293x300
育儿神器金宝贝磁力棒
图片尺寸1080x1080
百变魔法磁力棒吸磁棒组合套装强力建构
图片尺寸800x800
磁力棒的快乐
图片尺寸1080x810
磁力棒巴克球组合套装吸铁石磁铁百变拼搭1000颗积木解压成人玩具
图片尺寸790x1045
磁力棒拼图
图片尺寸960x960
博桐梦巴克方块1000颗磁铁魔力珠磁力棒套装马克星巴八克球积木玩具
图片尺寸350x350
早教百变磁力棒防误吞儿童玩具磁力片幼儿园礼物拼装磁性积木64件特
图片尺寸750x1228
磁力棒巴克球组合磁铁棒珠彩色磁力球八克铁盒吸铁石益智拼接玩具
图片尺寸620x620
金宝贝磁力棒
图片尺寸1080x1439
九种磁力棒拼搭造型来啦!简单易学又好玩.
图片尺寸1440x2160
一种磁力棒积木的连接装置-爱企查
图片尺寸217x243