磁吸装置

碉堡!网友自制磁吸装置,像蜘蛛侠可随意行走于墙壁之上
图片尺寸640x360
磁吸快速送料装置
图片尺寸1713x1974
磁力吊装手动永磁吸盘起重器航车电葫芦磁吸盘300kg40
图片尺寸790x1262
磁吸式矿用泡沫降尘装置 耗水量小 kpz-0.3/1.3矿用泡沫降尘装置图片
图片尺寸800x800
诚胜 磁吸性测试仪 cs-6616 磁铁磁性测试装置 磁铁吸性试验机图片
图片尺寸750x750
富兴电磁吸盘用在哪些地方?
图片尺寸1339x1085
固定喷壶的磁吸装置
图片尺寸418x416
易清理的磁吸除杂装置
图片尺寸1646x1006
nct无线传输技术丨磁吸和真空抽吸装置案例
图片尺寸782x586
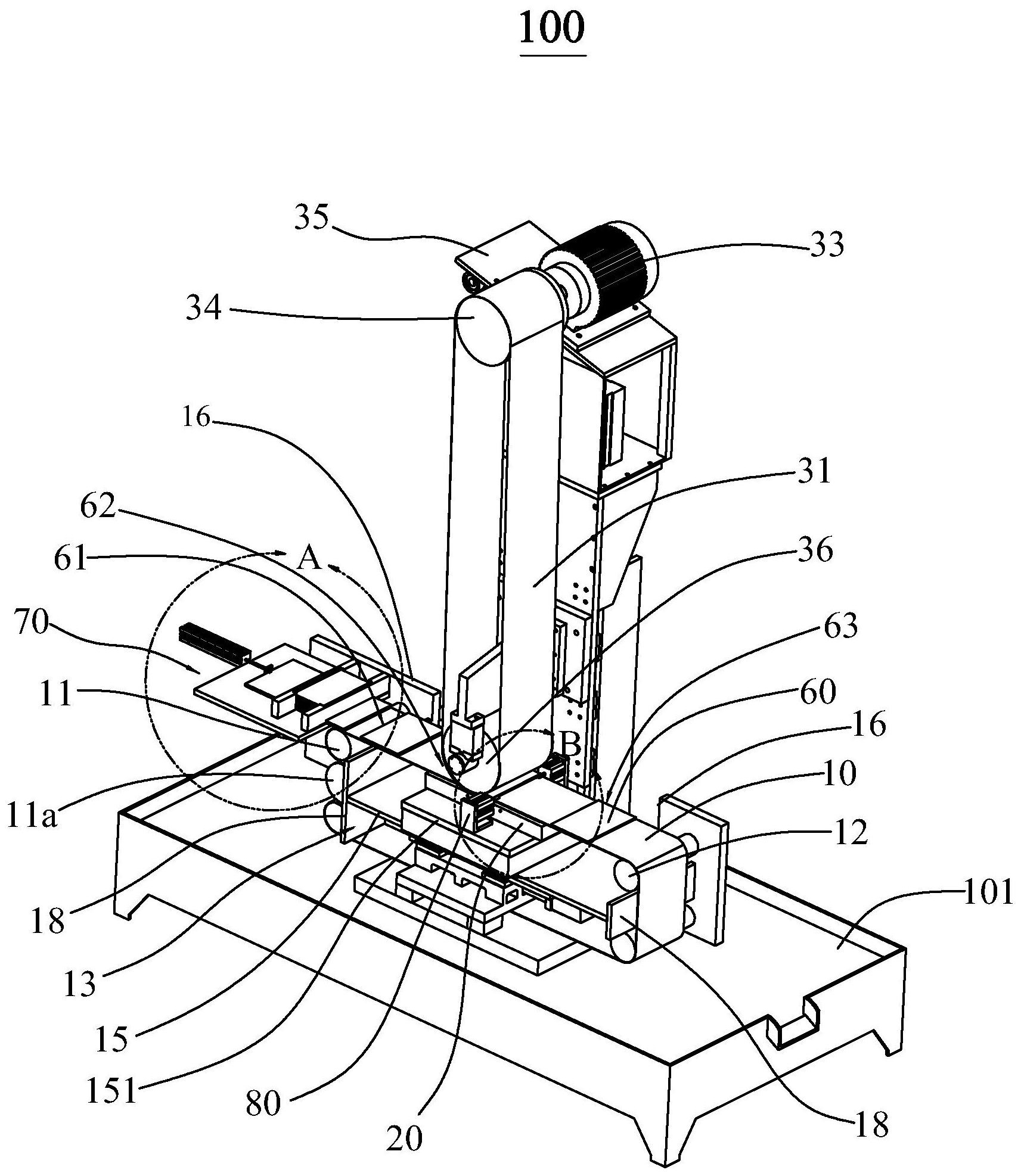
实用新型一种加工中心用磁吸式废料自清洁装置 申请号:cn
图片尺寸400x401
一种悬空式磁吸装置
图片尺寸1371x1672
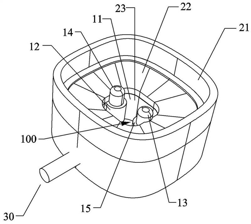
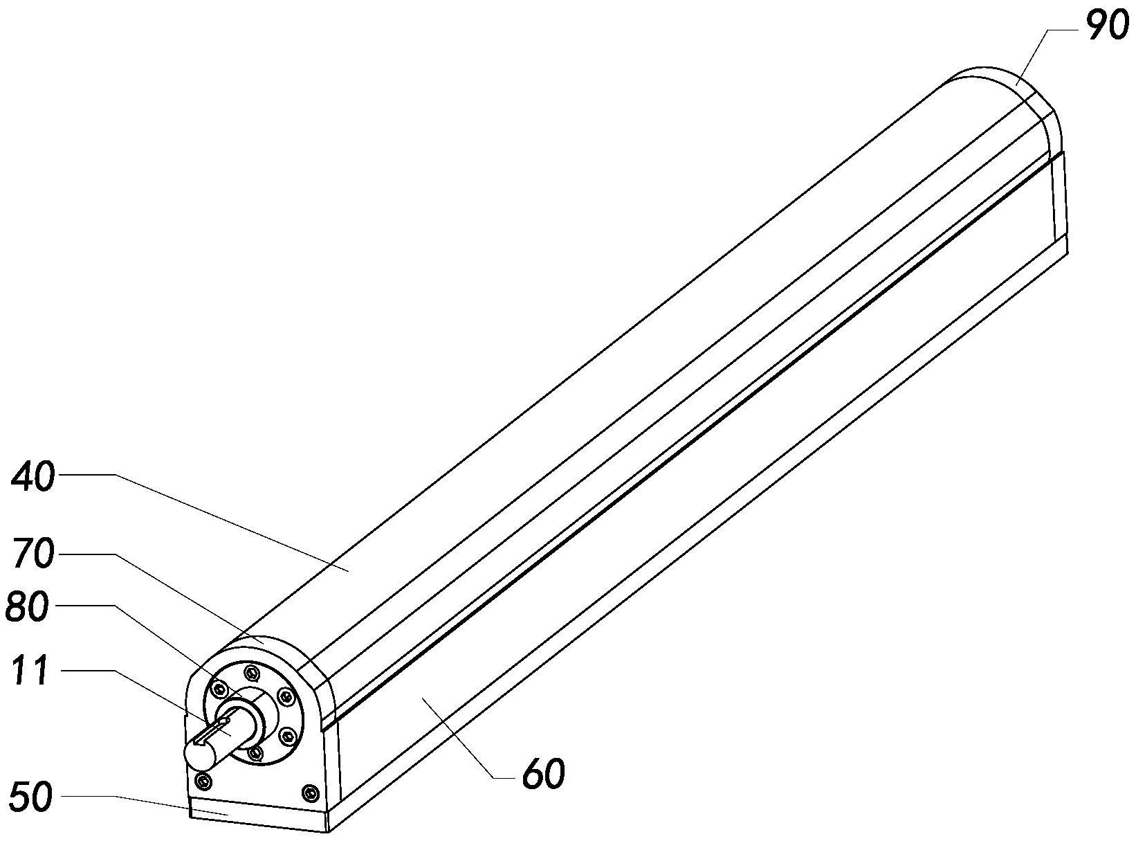
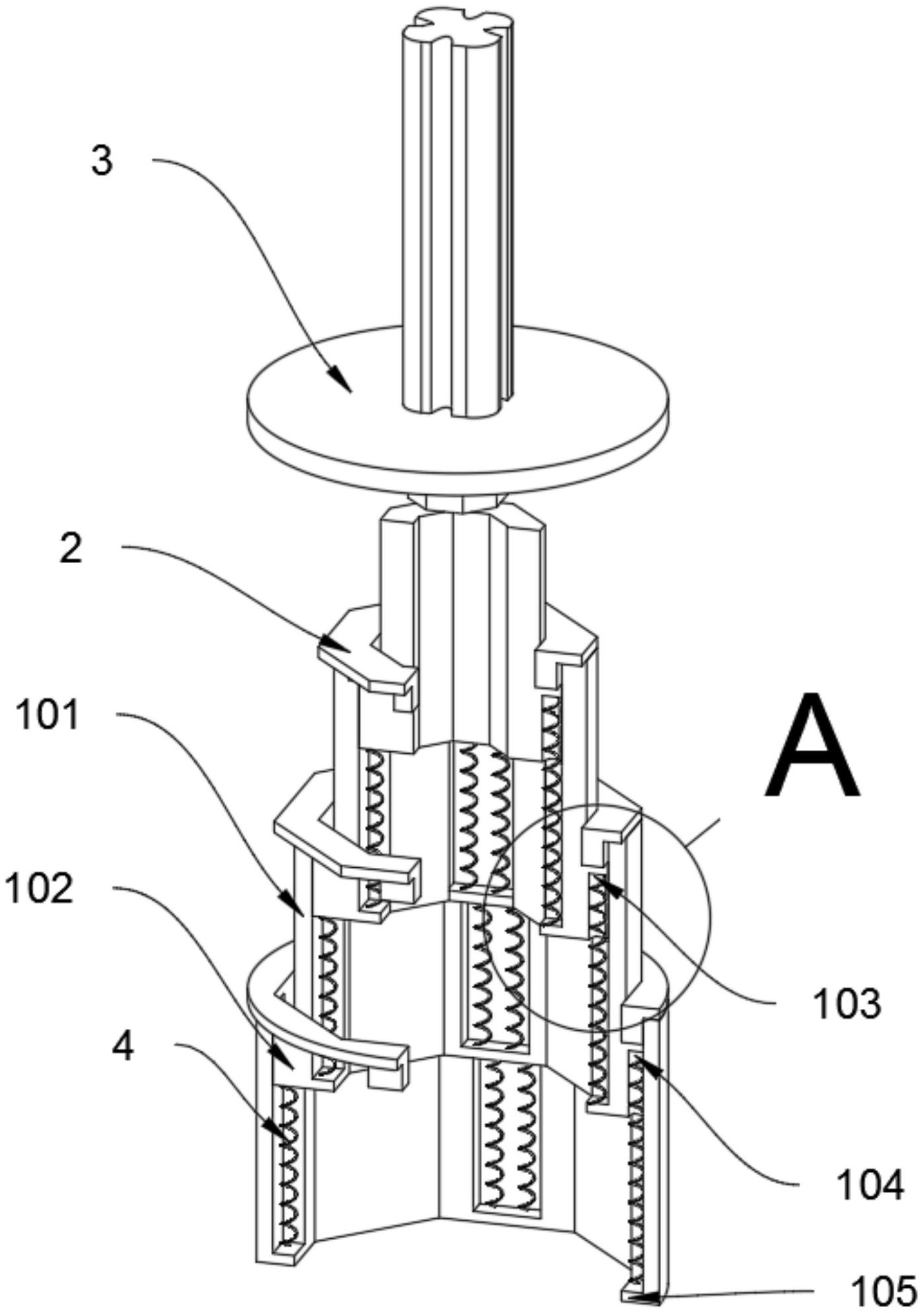
一种磁吸装置的制作方法
图片尺寸1000x545
产品详情技术参数石材铺设设备丨真空磁吸装置500/1500型汽油版/液压
图片尺寸600x338
永磁起重器手动提拉搬运钢板工具磁力装车辅助神器助力
图片尺寸790x912
一种用于海底钻井设备的磁吸装置-爱企查
图片尺寸1642x1215
一种悬空式磁吸装置
图片尺寸295x360
一种多通道生物物质搅拌,研磨,分离及磁吸装置-爱企查
图片尺寸260x260
cn212049517u_磁吸装置及工件移动装置有效
图片尺寸1000x556
一种磁吸式汽车配件用螺丝自动装卸装置-爱企查
图片尺寸1395x1982
磁吸充电装置-爱企查
图片尺寸800x712