磨床主轴结构图

cn108436759a_一种磨床主轴装配结构在审
图片尺寸2091x1170
m1432万能外圆磨床砂轮主轴的改造_调心球轴承_专业圆锥滚子轴承生产
图片尺寸494x483
cn207930498u_磨床电主轴结构有效
图片尺寸2551x1432
主轴结构 - 2020年最新商品信息聚合专区 - 百度爱采购
图片尺寸640x480
数控内圆磨床的工件主轴结构
图片尺寸1000x565
cn202804927u_一种磨床的砂轮主轴结构失效
图片尺寸1000x510
大直径辊筒专用外圆磨床设计(磨头及导轨传动结构设计)
图片尺寸1200x800
herkules赫克利斯 磨床87430 主轴 轴瓦
图片尺寸920x482
高精度无心磨床悬臂式长轴瓦动压砂轮主轴结构
图片尺寸1000x706
mk8440a型数控轧辊磨床砂轮主轴模态分析
图片尺寸891x664
磨床主轴的维修技术
图片尺寸750x400
机床主轴系统动力学特性研究进展_高尚晗
图片尺寸447x375
浅谈杭州平面磨床主轴结构及形式改造
图片尺寸740x352
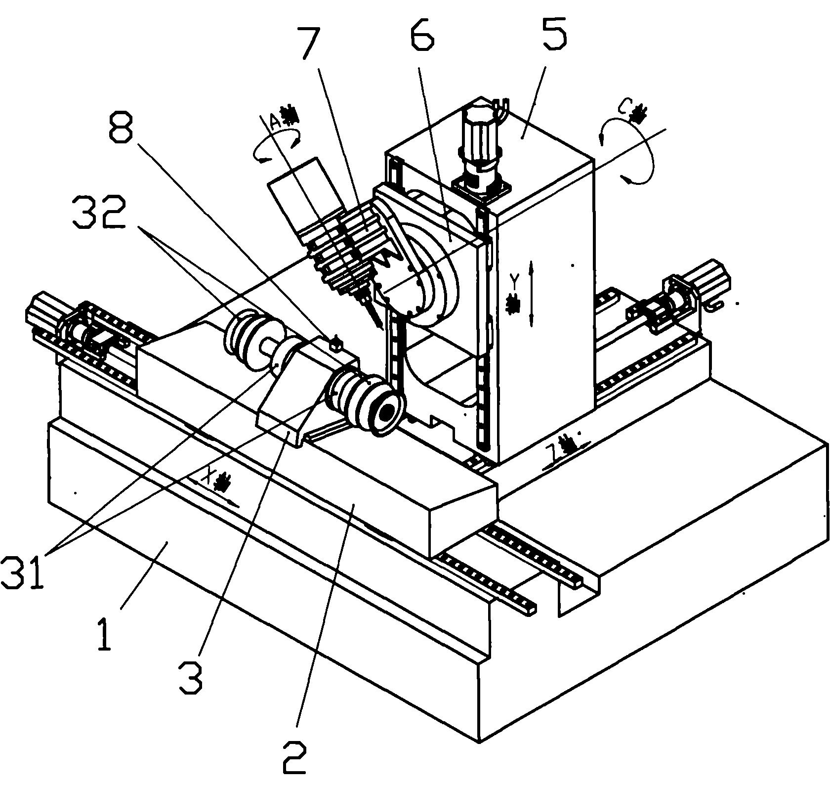
一种五轴联动双端磨轴数控工具磨床-爱企查
图片尺寸1680x1590
轧辊磨床主轴装配图1偏心套静压主轴
图片尺寸984x702
cn102785137a_气门杆部数控无心磨床的砂轮主轴结构失效
图片尺寸1000x629
cn2822877y_数控轧辊磨床的砂轮主轴结构失效
图片尺寸2257x1236
一种研磨机主轴结构的制作方法
图片尺寸1000x686
一种磨头主轴组件的制作方法
图片尺寸1000x741
平面磨床内置式砂轮主轴电机
图片尺寸1726x1002