磨煤机过轨吊图纸

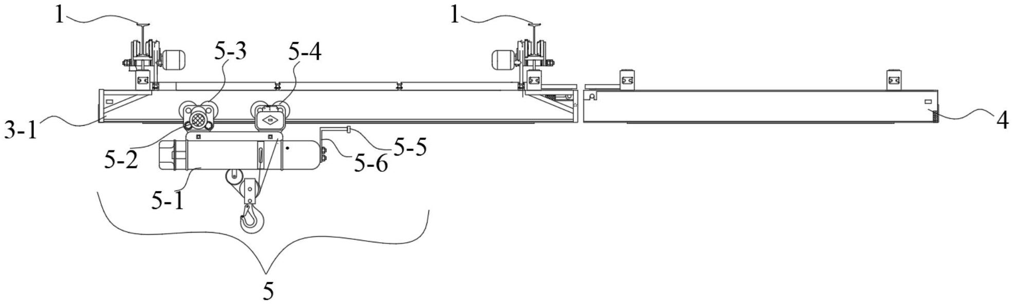
一种磨煤机过轨吊防误操作保护装置
图片尺寸1974x594
过轨吊图cad图纸
图片尺寸650x500
推杆的推杆与推轴连接,推轴支座设置在外部二号起重机的二号悬梁上,推
图片尺寸1000x532
悬挂起重机图纸,悬挂起重机_大山谷图库
图片尺寸500x501
中速磨煤机总图cad机械图纸
图片尺寸691x987
单轨吊全套16张cad图纸
图片尺寸920x1302
cad图纸 >钢球磨煤机 cad图纸内容预览结束,如需源图纸请下载
图片尺寸800x500
矿用系列球磨机图纸(蓝图)
图片尺寸1187x809
一种中速磨煤机磨盘密封装置制造方法及图纸
图片尺寸1000x840
磨煤机安装图
图片尺寸560x461
mg290/470钢球磨煤机总图设计 - autocad筛分与破碎设备图纸下载
图片尺寸820x573
煤磨cad机械图纸
图片尺寸1024x1448
bbd双进双出钢球磨煤机总图
图片尺寸800x600
mgs4060a双进双出筒式磨煤机图纸
图片尺寸820x521
钢球磨煤机cad机械图纸
图片尺寸727x497
磨煤机工作原理及磨煤机结构图
图片尺寸416x572
fmb环形辊式磨煤机总装图 - 通用设备图纸 - 沐风网
图片尺寸820x574
hp1003碗式磨煤机cad图纸
图片尺寸820x579
zgm95g中速磨煤机设计图
图片尺寸291x218
bbd3854双进双出筒式磨煤机总装图下载_石油,化工_机械图纸 - 机械5
图片尺寸820x580