离合器主缸总成

摩托车90 100 110 120 125 130 自动离合器总成-阿里巴巴
图片尺寸962x962
上海华普海峰海尚海域海迅离合器总泵 离合器分泵 主缸 分缸配件
图片尺寸220x220
离合器适用金杯智尚s30离合总泵主缸总成原厂离合器总成
图片尺寸1284x964
离合适用于比亚迪m6手动专用离合器总泵总缸总成其他
图片尺寸3438x3438
离合器总泵适用丰田三菱f14e小松12代tcm叉车配件刹车泵 制动主缸
图片尺寸750x600
离合器主缸总成,23983051
图片尺寸1824x1368
瑞虎离合器主缸奇瑞5x离合总泵19年改进进款离合器总成
图片尺寸800x800
长安cs75plus离合器总泵离合器主缸总成助力器总缸离合器主泵原厂
图片尺寸863x1920
适用于力帆x60x50离合器总泵离合主缸总缸离合器总成
图片尺寸962x598
桑塔纳2000gsi轿车离合器主缸与工作缸的检修
图片尺寸1854x1074
适用金杯智尚s30离合总泵 离合器主缸 离合器总成 原厂汽车配件
图片尺寸4032x3024
6离合器主缸/离合器总泵 注射液压缸总成
图片尺寸1600x1200
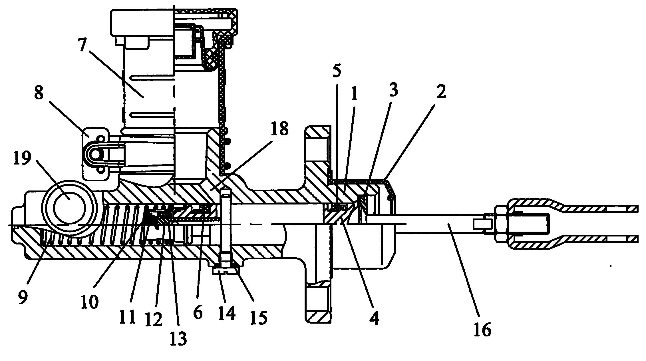
离合器主缸总成-爱企查
图片尺寸2263x1264
江铃特顺离合器总泵jmc特顺离合主缸江铃原厂配件 离合主缸总成铝
图片尺寸1080x1080
离合器适配比亚迪f3总泵f3rg3l3主缸总成其他汽修汽保工具
图片尺寸1440x1080
适用福田雷沃欧豹 耕王 沭河 千里牛离合器总成 13寸福田大厂【图片
图片尺寸990x743
星舵现代辉翼h-1h1/starex/imax变速箱离合器总泵主缸总成 左舵车/lhd
图片尺寸750x750
离合器适用奇瑞瑞虎总泵凯翼x5主缸总成apg其他
图片尺寸750x750
一汽解放 离合器主缸总成 d539e 青汽底盘件 卡车虎威配件
图片尺寸310x310
中兴离合器总泵
图片尺寸1920x1920