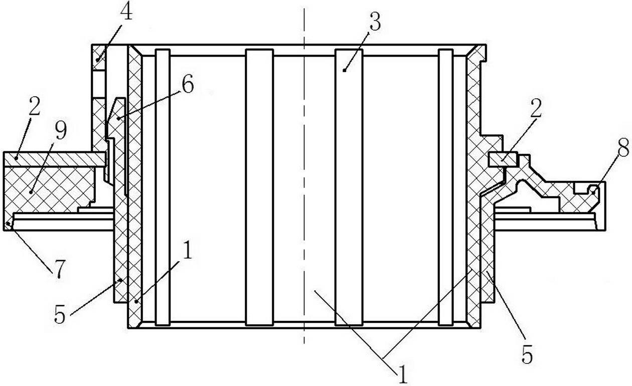
离合器分离套筒

2—膜片弹簧与压盘 3—分离轴承 4—分离套筒 5—分离叉轴 6—离合器
图片尺寸1054x677
操纵机构:分离杠杆,分离杠杆支承柱,摆动销,分离套筒,分离轴承,离合器
图片尺寸600x770
常州东风农机300/304/354/400/404拖拉机p离合器分离轴座支座套筒
图片尺寸800x800
标致雪铁龙原车手动挡离合器分离轴承套筒
图片尺寸600x450
连接电缆 1631c10hamma 油水分离器 rapid 2
图片尺寸551x550
推式自调心汽车离合器分离轴承套筒总成-爱企查
图片尺寸1260x770
汽车发动机离合器的装配是什么样子的
图片尺寸512x353
东方红lx804/904拖拉机离合器分离套筒/套筒支座/推力盘/轴承座
图片尺寸1200x1200
套筒,滚柱则克服弹簧力而滚到楔形空腔的宽敞部分,离合器处于分离状态
图片尺寸700x655
昨天换luk离合三件套,加分离轴承套筒和分离拨叉作业.
图片尺寸900x506
昨天换luk离合三件套,加分离轴承套筒和分离拨叉作业.
图片尺寸560x315
二手车评估技巧离合器检测
图片尺寸389x289
汽车发动机离合器的装配是什么样子的
图片尺寸400x400
分离杠杆,分离杠杆支承柱,摆动销,分离套筒,分离轴承,离合器踏板等
图片尺寸486x439
离合器压紧弹簧弹力过大,分离套筒滞涩,动盘衬片有油污或破裂,主从动
图片尺寸600x332
复旦大学车辆工程专业《学习情境二 你 离合器检修》ppt
图片尺寸1080x810
汽车离合器主要由四个部分组成,分离杠杆,摆动销,分离套筒,分离轴承等
图片尺寸634x417
5t叉车离合器分离轴承座ct52aa-1三吨轴承套筒
图片尺寸300x260
福田雷沃欧豹804-1804拖拉机配件离合器主副分离轴承座分离套筒座
图片尺寸2736x2736
拖拉机离合器轴承分离爪座 套筒常州东风型121/151扭簧304轴承盖
图片尺寸800x800