离型纸结构

纸具有不同的产品结构,一般采用涂布 工艺制作的离型纸结构如下图所示
图片尺寸1080x810
离型纸批发95g120g140g黄色单塑单硅 隔离纸 防粘纸 硅油纸可分切
图片尺寸514x230
产品结构:白色格拉辛原纸为基材,在其表面涂布硅油离型剂而成产品详情
图片尺寸800x439
昆山供应工业离型纸140克白单硅纸jabd140l
图片尺寸568x380
离型纸厂家批发150g铜板小格压纹离型纸硅油纸防粘纸隔离纸可定制
图片尺寸544x252
离性纸的类型: 1,薄膜(pp)film 2,硅油纸gassine3,涂层纸(pe)
图片尺寸795x392
离型纸是一种涂布纸,它通常由纸基层和离型涂料层构成,其基本结构与
图片尺寸1000x855
手机辅料中离型纸的设计规范
图片尺寸472x347
一种双面离型纸制造技术
图片尺寸528x222
无基材胶带(transfer tape) ,即没有基材的胶带,仅由离型纸直接涂上
图片尺寸1165x540
一种卫生巾的新型背胶离型纸技术制造技术
图片尺寸743x771
不干胶标签结构示意图对于离型纸或者离型膜来说,离型涂层的涂布量是
图片尺寸534x224
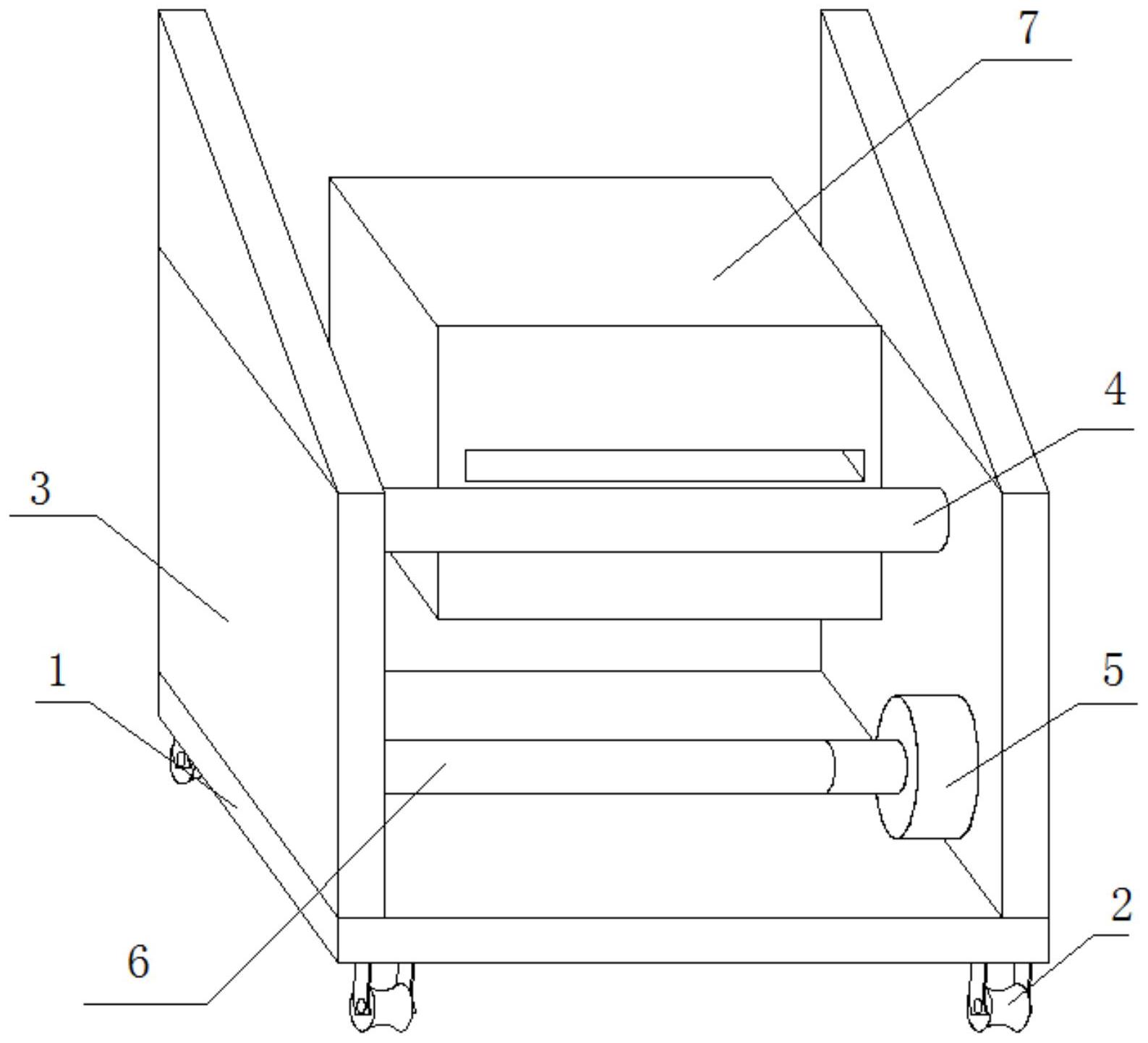
cn112609506a_一种包装袋离型纸加工用除湿结构
图片尺寸1587x1442
一种水性皮革离型纸的制备方法-爱企查
图片尺寸1450x663
一种带有网纹结构的离型纸的制作方法与工艺
图片尺寸1000x457
离型纸的结构是怎样的
图片尺寸950x390
离型纸分离的加工治具及其加工方法,包括基架,设于基架上端的接触结构
图片尺寸1830x1653
特殊导流层:超强导流 专利银离子芯片 3/5.包覆层:超柔软无尘纸 4.
图片尺寸500x300
一种包装袋离型纸加工用除湿结构的制作方法
图片尺寸1000x908
检测离型纸涂布效果的标准有哪些?
图片尺寸709x448