离子注入机结构

离子注入工艺设备结构 第3页 (共57页,当前第3页) 的相关文档搜索
图片尺寸1080x810
离子注入机
图片尺寸528x369
离子注入ppt
图片尺寸1080x810
伯乐解析注塑机基础知识简介一
图片尺寸1120x708
离子注入法介绍ppt
图片尺寸1080x810
智芯研报 | 半导体核心装备离子注入机的国产替代机遇
图片尺寸1080x383
注塑机ppt
图片尺寸1080x810
& exp. co., ltd.
图片尺寸1013x739
厂家直销尼尔森离心机离心选金机选矿离心机
图片尺寸665x558
lgz/pgz平板式全自动刮刀下卸料离心机
图片尺寸1270x1003
离子注入设备和方法
图片尺寸626x419
离子注入机的终端结构
图片尺寸800x391
离子注入系统离子注入离子注入是一种对半导体进行掺杂的方法.
图片尺寸989x634
一种多工位转盘式注液机
图片尺寸1000x933
gq105浓缩型管式离心机结构:gq105高速管式离心机机身整机为不锈钢
图片尺寸1729x960
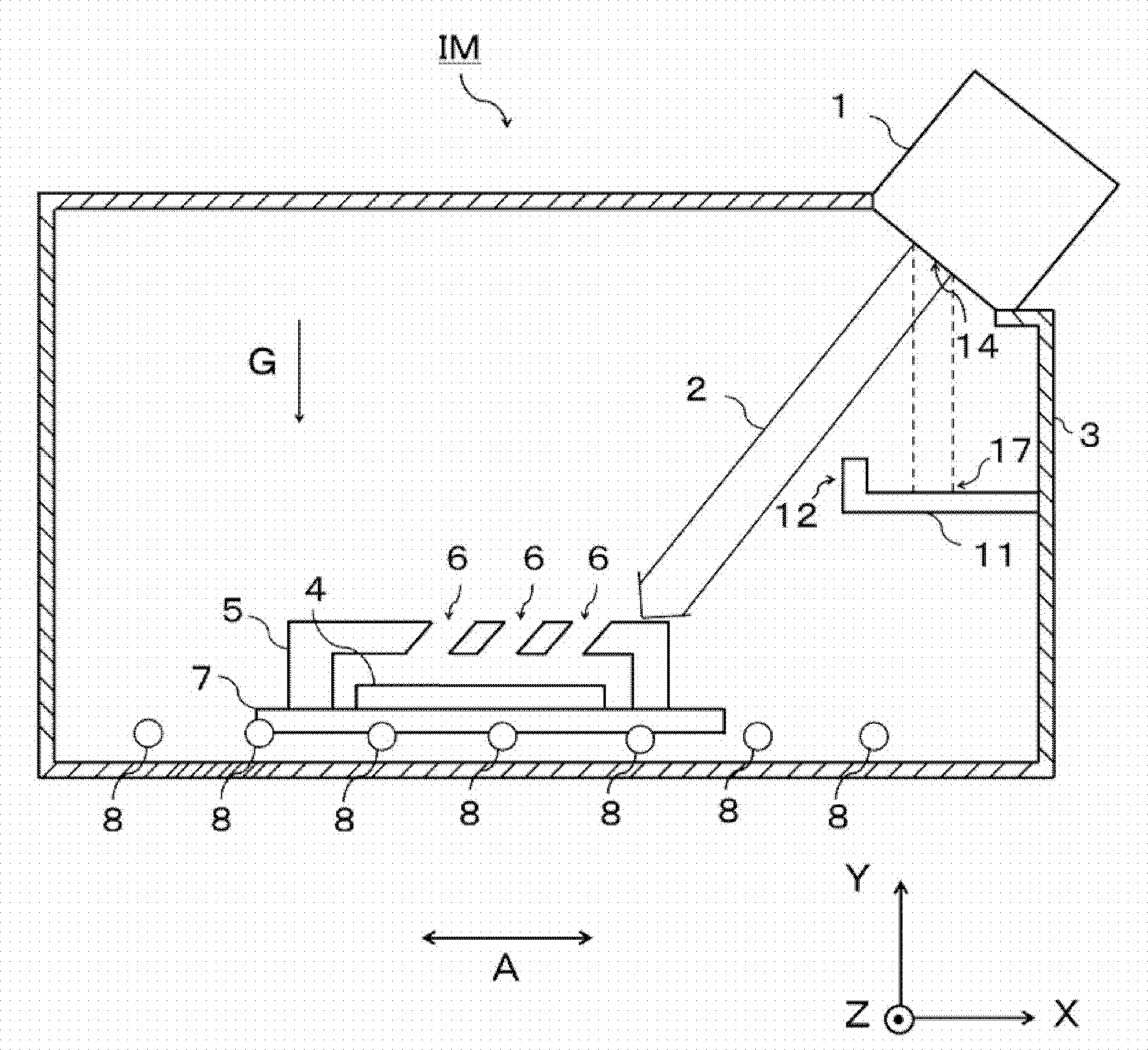
本发明提供一种离子注入装置,以廉价且简单的装置结构,能够防止离子源
图片尺寸1873x1713
晶圆离子注入机
图片尺寸715x694
圆柱型电池自动注液机制造技术
图片尺寸1000x796
本实用新型涉及锂离子电池电芯注液设备,特别涉及电芯的注液工序,可
图片尺寸1000x645
半导体设备之离子注入机行业研究
图片尺寸1080x555