离心机刮刀总成结构图

gk 卧式刮刀下卸料离心机-结构示意图.png
图片尺寸1275x755
拉袋式刮刀下卸料离心机
图片尺寸680x729
lgz/pgz平板式全自动刮刀下卸料离心机
图片尺寸1270x1003
paut上悬式液压刮刀离心机
图片尺寸462x380
二手平板刮刀离心机 华大平板离心机 药品洁净型离心机
图片尺寸960x527
lgz刮刀全自动离心机
图片尺寸650x316
cn206474303u_平板式沉降刮刀下卸料离心机有效
图片尺寸1000x923
pgz平板刮刀下部卸料全自动离心机
图片尺寸900x484
gk卧式刮刀卸料离心机 离心机
图片尺寸350x258
平板上悬式刮刀下料自动离心机
图片尺寸568x240
gk卧式刮刀卸料离心机
图片尺寸626x280
离心机刮刀部件
图片尺寸1332x1278
厂家直销pgz1250自动刮刀下卸料离心机 全自动过滤型工业用离心机
图片尺寸654x314
化工> 分离设备 > 离心机 >珠海paut离心机10,选装气体辅佐刮刀
图片尺寸728x609
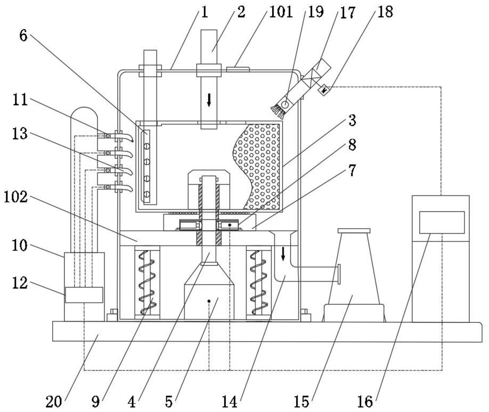
一种无齿轮变速的立式刮刀卸料煤泥离心机
图片尺寸1691x1286
目前,离心机中的刮刀装置,其结构比较简单,通常包括:支座,以及其竖向
图片尺寸381x444
一种平板式全自动刮刀下卸料离心机
图片尺寸1697x1432
cn112808470a_一种平板上悬式刮刀下部卸料离心机有效
图片尺寸1630x2036
卧式刮刀卸料离心机制造技术,卧式刮刀离心机结构图专利_技高网
图片尺寸1000x904
cn101168143a_一种具有气体喷嘴应用设计的全自动刮刀卸料离心机失效
图片尺寸2116x2037