离心泵简易画法

离心泵的简笔画
图片尺寸248x500
离心泵的简笔画
图片尺寸500x648
离心泵的图标
图片尺寸1200x1091
离心泵的图标
图片尺寸1100x1181
离心泵的图标
图片尺寸1200x1036
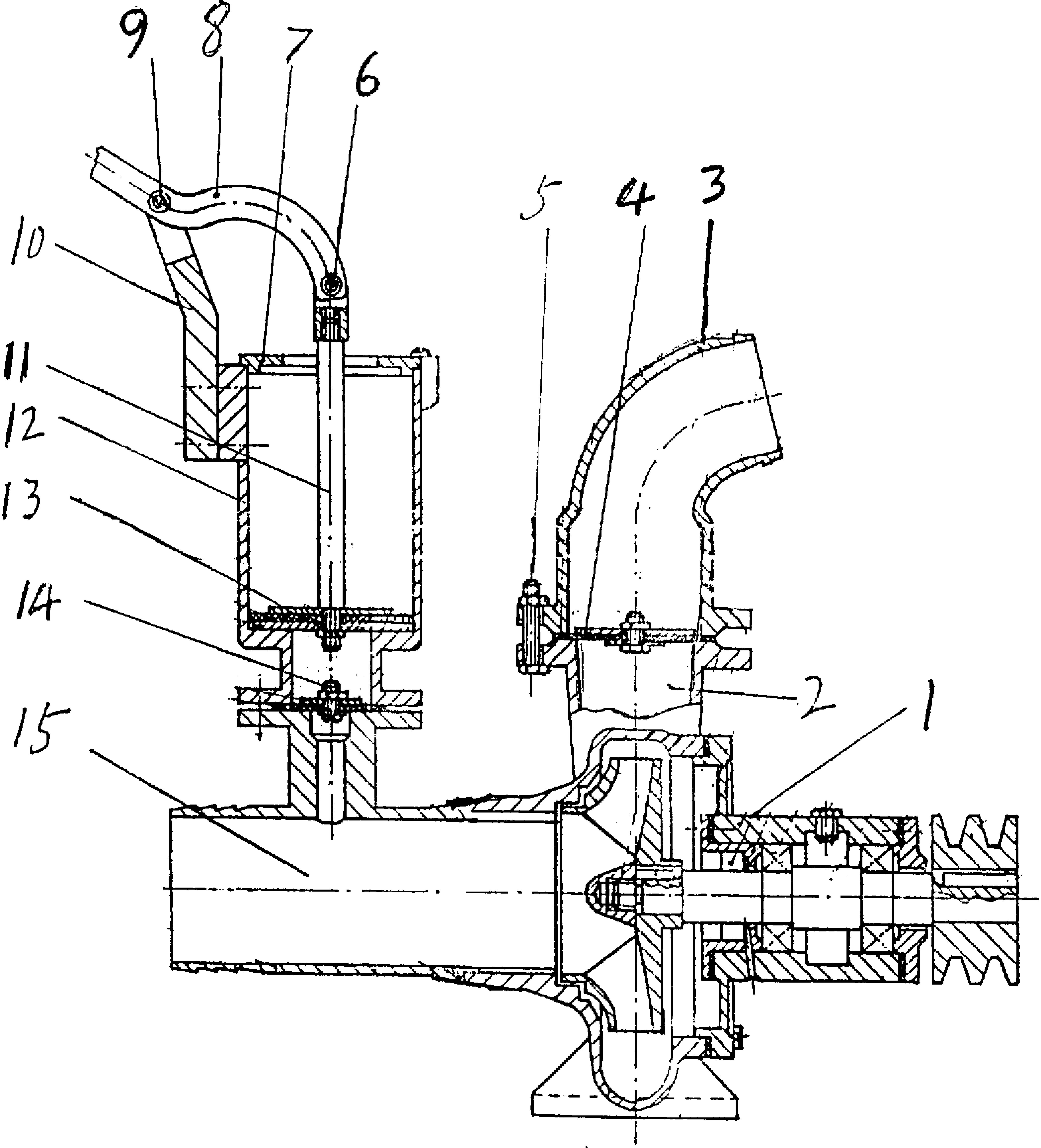
一种单级可拆卸式离心泵-爱企查
图片尺寸1792x1331
离心泵的图标
图片尺寸900x1200
离心泵的图标
图片尺寸982x1200
水泵图标矢量轮廓插图
图片尺寸612x612
泵机简笔画
图片尺寸500x414
一种轻小型离心泵-爱企查
图片尺寸4704x5184
一种离心泵分流机构的制作方法
图片尺寸967x1000
一种防堵塞的化工离心泵的制作方法
图片尺寸379x443
低比转速离心泵
图片尺寸1169x1234
低比转速离心泵
图片尺寸1137x1181
离心泵的制作方法
图片尺寸558x1000
无刷电子水泵-爱企查
图片尺寸800x684
偏心泵机构简图
图片尺寸1866x1170
一种自动排气式离心泵的制作方法
图片尺寸906x1000
一种离心泵
图片尺寸1000x519