离心泵自吸装置

离心式自吸泵
图片尺寸1920x1277
真空辅助大流量高吸程自吸泵 真空自吸离心泵
图片尺寸1600x2200
自吸离心泵
图片尺寸1280x850
zx卧式自吸离心泵
图片尺寸3072x2304
无密封自控自吸泵自吸wfb型无密封自控自吸泵现货供应
图片尺寸3456x4608
wfb立式自控自吸泵
图片尺寸3456x4608
供应zx自吸离心泵
图片尺寸750x481
wfb自吸泵耐温耐压自控自吸离心泵无密封立式清水泵化工无泄漏
图片尺寸310x310
真空自吸式离心泵
图片尺寸960x1280
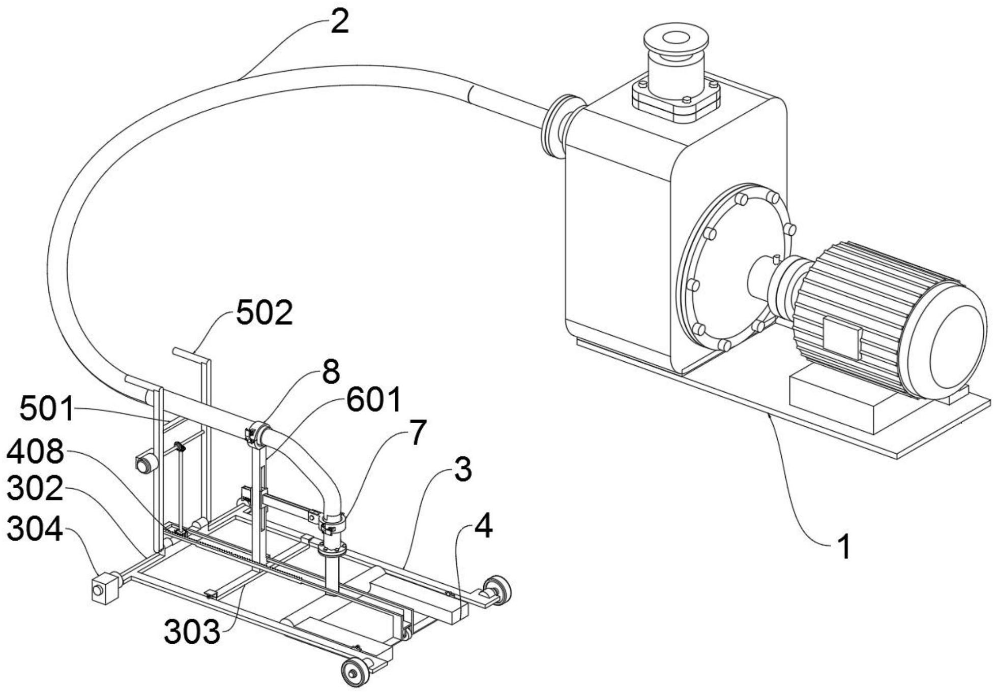
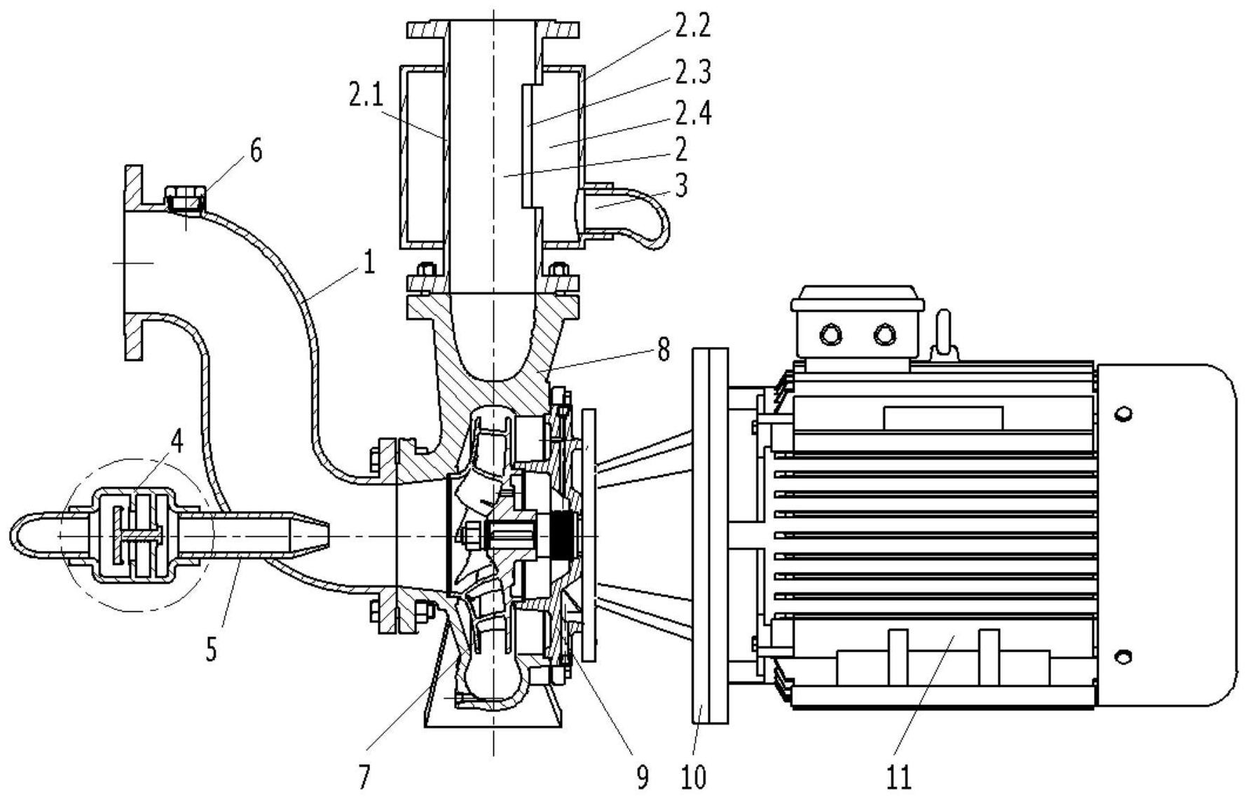
一种离心泵自吸装置
图片尺寸1781x1140
自吸泵吸力小怎么办每次启动都需要加水怎么办
图片尺寸2736x3648
自吸式离心泵进水管口改装装置
图片尺寸1962x1368
自平衡多级泵 轴向吸入离心泵 钢铁业 结构/性能/报价
图片尺寸1019x982
sfbx不锈钢自吸离心泵
图片尺寸1667x1667
自吸离心泵
图片尺寸800x800
普通离心泵,若吸入液面在叶轮之下,启动时应预先灌水,很不方便.
图片尺寸640x1408
巨时cyz-a型自吸式离心泵
图片尺寸2551x2551
自吸离心泵进口管道的要求
图片尺寸614x474
真空辅助自吸式离心泵
图片尺寸640x853
耐腐蚀自吸离心泵联轴器装配及找正方法要求
图片尺寸1080x1440