离心泵装置

离心泵装置安装示意图
图片尺寸763x819
长沙中开式离心泵9大常见故障及其原因,排除方法
图片尺寸385x355
离心泵水封环安装顺序
图片尺寸1720x876
ihw型卧式管道离心泵自动供水装置的研究和应用
图片尺寸950x680
oh2化工离心泵
图片尺寸820x698
离心泵的主要部件包括:叶轮,泵轴,泵壳,泵座,填料盒(轴封装置),减漏环
图片尺寸640x415
高温热水泵选用grg外接自来水冷却装置离心泵或ih双端面化工离心泵
图片尺寸3696x2448
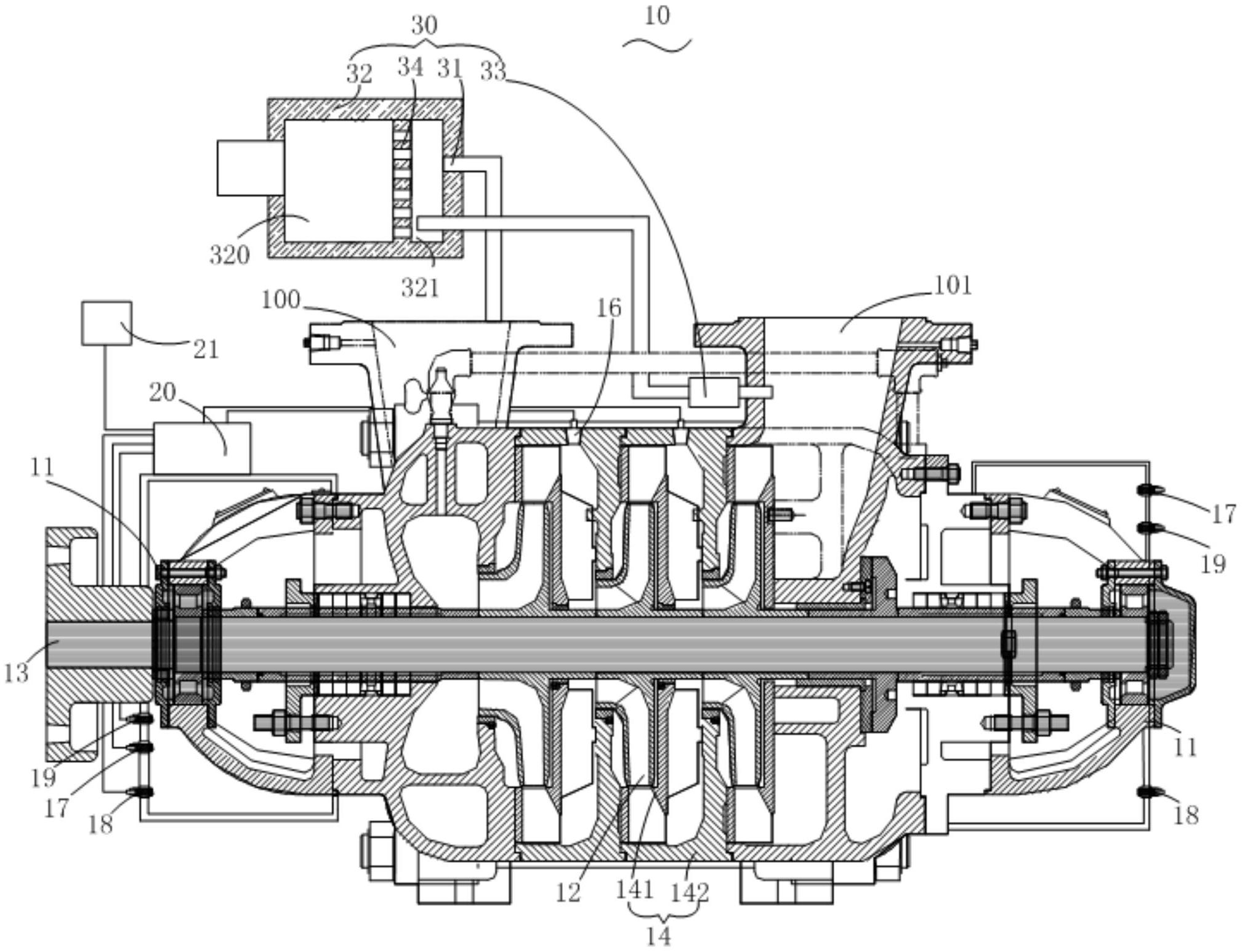
一种自检式多级离心泵,包括轴承座,叶轮,泵轴,液体导流装置,压力
图片尺寸2017x1546
内置轴向力平衡装置的卧式离心泵
图片尺寸1150x843
离心泵停止工作后如何维护和保养?三昌水泵厂详细讲讲.
图片尺寸400x339
离心泵的泵轴弯曲通常是由于超频振动,轴承不对中,动静之间产生了摩擦
图片尺寸600x400
什么是离心泵?离心泵的特点,工作原理与用途
图片尺寸540x405
不锈钢离心泵主要部件有叶轮,泵壳和轴封装置.
图片尺寸500x375
离心泵的拆装
图片尺寸920x690
离心泵的优点及离心泵装置的组成
图片尺寸379x228
管道离心泵装置与工作原理
图片尺寸374x393
管道离心泵装置与工作原理
图片尺寸371x380
离心泵迈入新历程,化工抗腐蚀领域放光彩_不锈钢_装置_行业
图片尺寸600x420
不锈钢离心泵的工作原理装置
图片尺寸432x592
多级离心泵型号说明,再也不会搞错了,多级泵怎么选型?
图片尺寸485x450