离心脱泥机结构图

新一代卧式螺旋脱水机离心脱泥机
图片尺寸1151x473
离心污泥脱水机
图片尺寸842x455
冶金污泥离心脱水设备卧螺离心脱水机冶金污泥浓缩脱水一体机
图片尺寸3858x2067
污泥用离心脱水机
图片尺寸2623x2142
污水厂的污泥处理第六篇-卧式螺旋离心脱水机
图片尺寸680x354
卧螺式离心脱水机 污泥脱水设备
图片尺寸600x346
污泥离心脱水机厂家污泥离心脱水设备多少钱金华正邦卧螺离心机
图片尺寸600x357
污泥离心脱水机检修拆机步骤介绍
图片尺寸400x300
食品污水处理脱泥机概述:我公司生产的离心机结构合理,工艺先进,制作
图片尺寸789x371
什么是污泥脱水离心机?
图片尺寸640x339
首页 工业品 机械及行业设备 分离设备 离心机 wl530污泥脱水设备
图片尺寸555x372
供应污泥干化离心式污泥脱水机
图片尺寸966x394
卧螺离心机介绍-卧式离心脱水机
图片尺寸537x241
高速连续型离心式脱水机
图片尺寸1737x1593
在离心力作用下,可对污泥进行24小时连续脱水
图片尺寸800x500
离心脱水机
图片尺寸500x570
烽火台 资讯 正文 工业离心脱水机是一款结构简单,操作方便的
图片尺寸500x450
cn202741250u_双电机变频煤泥离心脱水机失效
图片尺寸1000x520
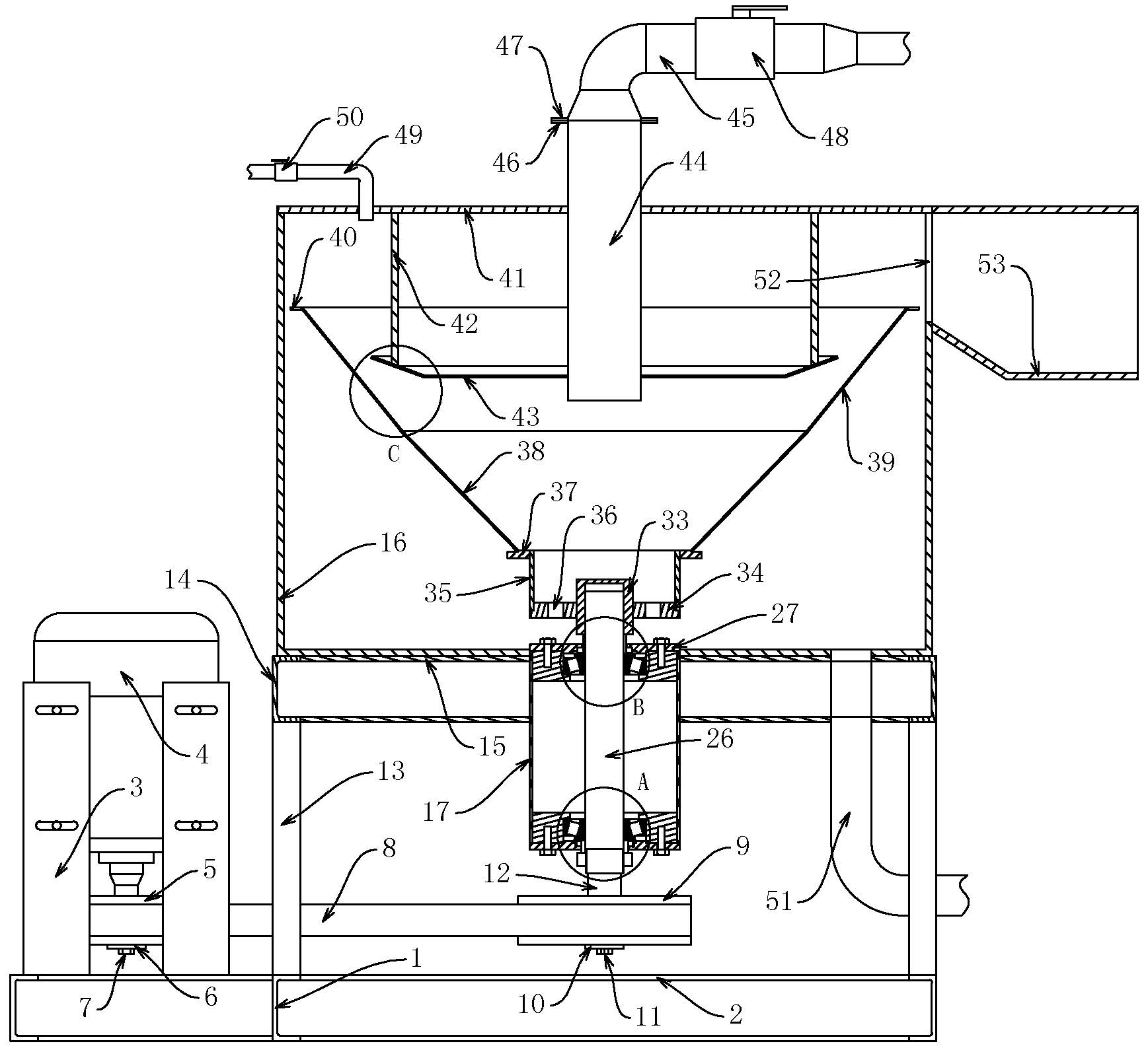
离心脱水机的制作方法
图片尺寸942x1000
免费文档 所有分类 蔬菜脱水机的使用说明及安全注意事项 2 结构特征
图片尺寸893x456