离心萃取机工作原理图

19.离心萃取机
图片尺寸800x600
一种异香兰素离心萃取方法
图片尺寸1683x1177
离心萃取/液-液分离工作原理(图示)
图片尺寸592x501
溶剂萃取的原理是什么?如何用离心萃取机快速实现液液分离?
图片尺寸605x565
液液萃取机
图片尺寸600x396
两级bxp离心萃取器的工艺流程图
图片尺寸770x490
萃取离心机
图片尺寸1258x723
离心萃取机工作原理
图片尺寸600x391
德国cinc多型号环隙式离心萃取器
图片尺寸900x530
化工设备原理动画离心萃取机翻录20
图片尺寸1440x900
cn213221049u_一种具有消泡功能的离心萃取机有效
图片尺寸1451x1797
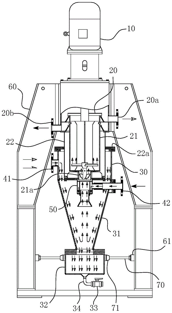
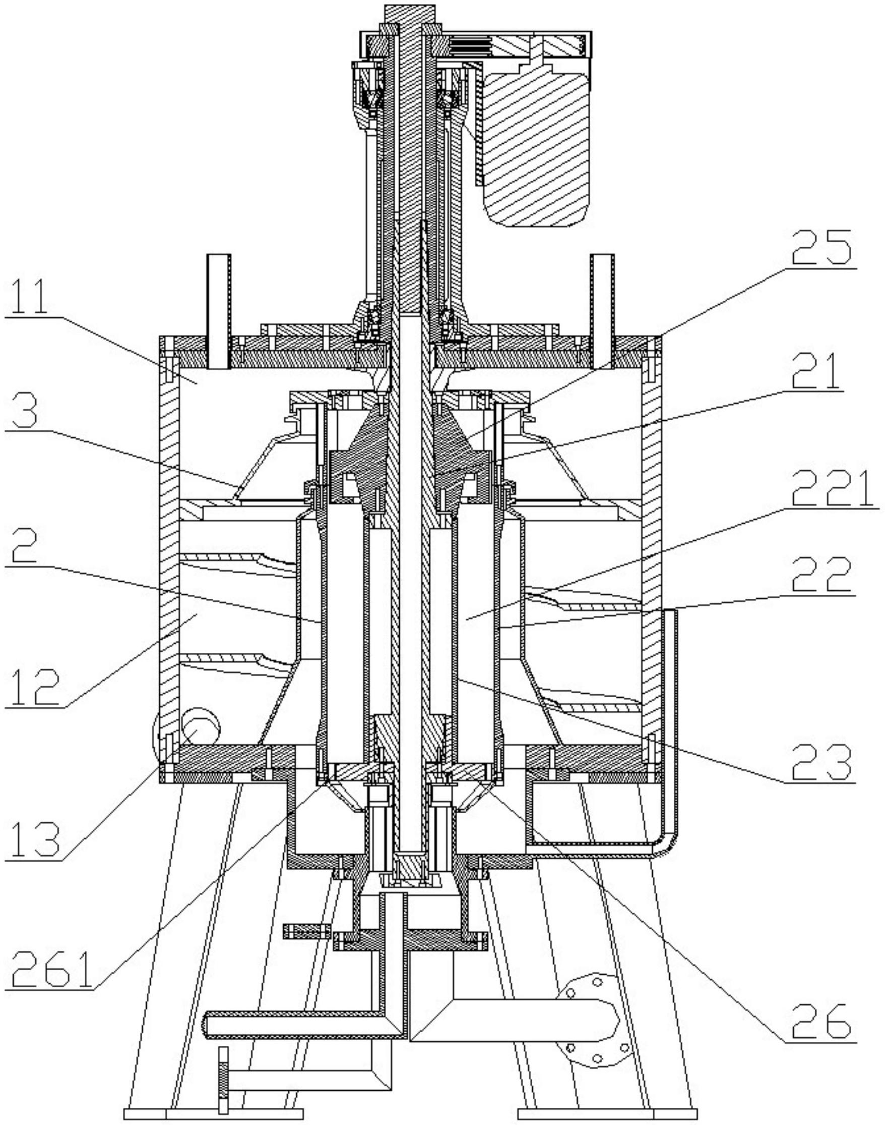
一种消除共振现象的离心萃取机
图片尺寸1756x2230
离心萃取器
图片尺寸1080x810
一种用于含固液相体系的离心萃取机
图片尺寸552x1000
离心萃取分离机工作原理 2.留时间短,分相迅速 3.
图片尺寸397x169
物理化学装置的制造及其应用技术离心萃取机是一种利用萃取分离原理而
图片尺寸552x1000
离心机工作原理示意图
图片尺寸647x394
离心机ctl型离心萃取机
图片尺寸914x942
具体原理通过离心萃取机高效旋转
图片尺寸370x444
离心机工作原理示意图
图片尺寸1050x529