离心风机的风道设计

离心风机设计原理图纸
图片尺寸1020x768
cn112963381a_离心风机风道结构在审
图片尺寸1610x1973
一种多风道离心风机的制作方法
图片尺寸566x296
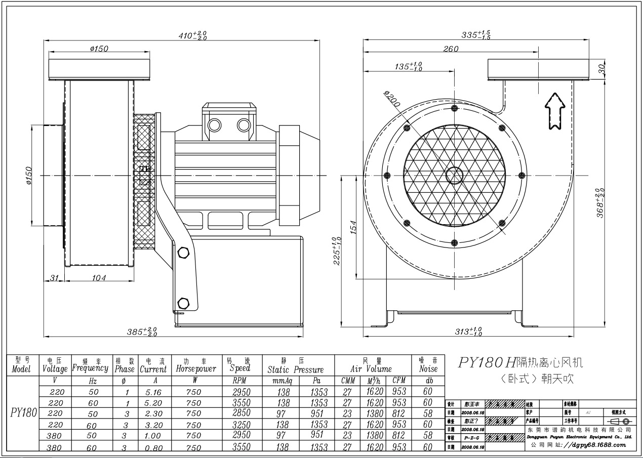
cy180蜗牛式低噪音工业机械抽风机750w管道排烟风机工频离心风机
图片尺寸1270x905
离心风机 从设计到成品交付,美美的一波 - 抖音
图片尺寸879x542
铭泰环保pp离心风机安徽蚌埠实验室离心风机风机生产厂家
图片尺寸750x593
免费风机图纸,9-19离心风机图纸及风机性能曲线图
图片尺寸600x450
cf-11风机厨房排烟离心风机工业除尘强力抽风机低噪音引风机现货 f11
图片尺寸789x1196
离心式风机的构造
图片尺寸737x573
一种双吸式离心风机-爱企查
图片尺寸1361x1214
一种斜导风型离心风道系统 本技术涉及一种风机
图片尺寸1000x960
2c 1.5kw皮带传动离心风机 工业除尘通风机
图片尺寸790x1106
htfc柜式离心风机是一种高效,节能,环保的通风设备,又名风机箱,离心
图片尺寸640x407
尤其涉及一种零碳数字多翼式离心通风机,包括一定位架;一风机本体,所
图片尺寸1446x2319
具体涉及一种风机风道结构本发明同时涉及一种空调系统
图片尺寸1000x890
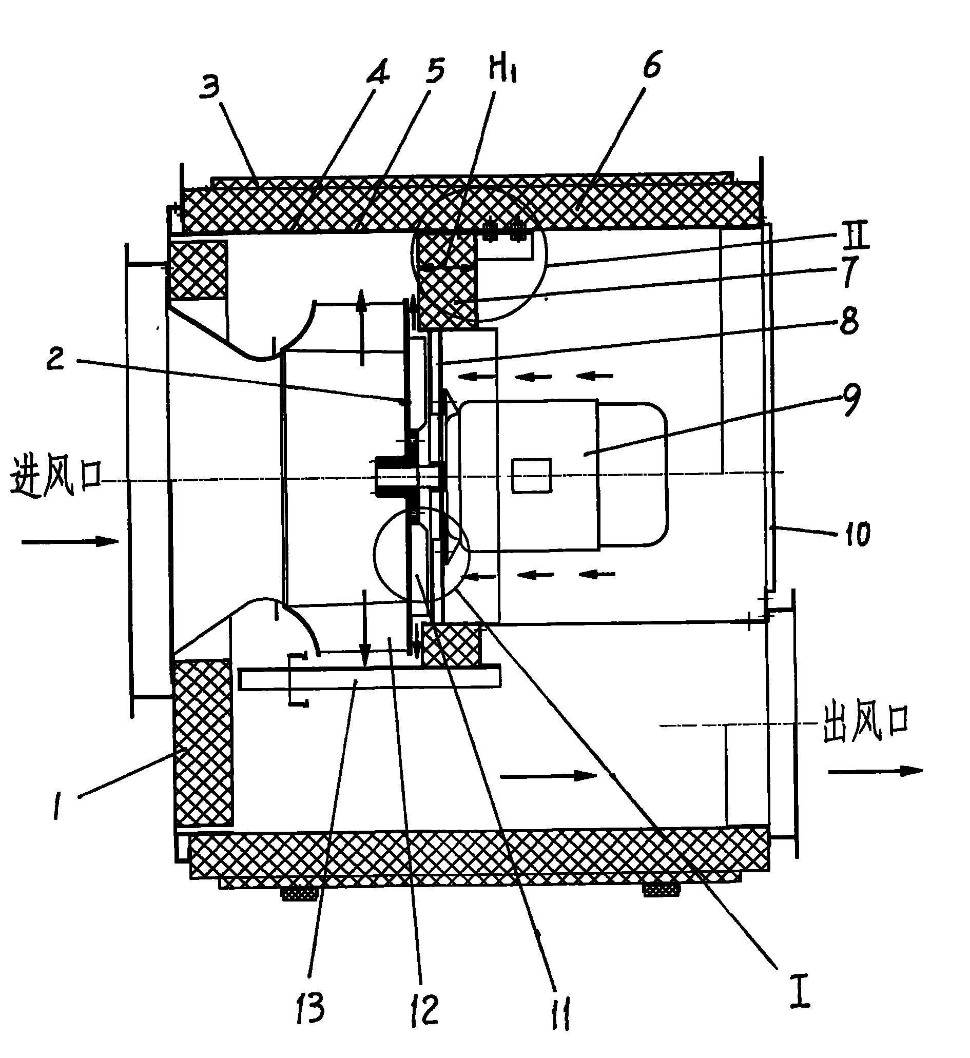
(1)离心风机:在图12-11的(b))和(c)中,风机进风口气流存在偏流和涡流
图片尺寸794x584
离心通风机的结构及工作原理
图片尺寸730x676
离心风机三维设计
图片尺寸291x218
gdf(rdf)-管道式离心风机 低噪音矩形通风机
图片尺寸1064x557
节能消声离心风机
图片尺寸1890x2062