种植扫描杆图片

扫描杆/scan body
图片尺寸1100x1077
中山口腔医院种植牙收费价格表
图片尺寸500x268
钛柱 基台 扫描杆 #好产品分享给更多的人 - 抖音
图片尺寸1080x1378
采用倍康美配套专用口内扫描杆,快速准确的获取口内种植数据
图片尺寸640x453
图25 口内安装扫描杆
图片尺寸4963x3474
直接利用数字印模制作单层全瓷冠,无需预先制作工作模型(口内扫描仪
图片尺寸495x331
7,数字化配件的设计包括扫描杆和钛base基台的设计可以真正实现mis的
图片尺寸700x393
瑞士icam4d无牙颌种植口外扫描系统已进入福能海峡口腔医院 - 福州福
图片尺寸600x450
可直接对接主流设计软件★特制扫描杆,可消毒1000次,适用于所有种植
图片尺寸984x1276
口腔种植印模及种植修复取模图解
图片尺寸952x856
我们靖佳自行研发的d2美学塑形扫描杆具有愈合,袖口成型,取模和口扫四
图片尺寸1080x1439
种植扫描杆怎么样扫描好一些
图片尺寸448x252
采用配套专用口内扫描杆,快速准确的获取口内种植数据
图片尺寸640x887
【上颌修复模型及扫描杆】【下颌修复模型】【铂晶瓷ht高透修复体饰瓷
图片尺寸1280x795
各系统 转移杆 齐全#奥齿泰 #登腾
图片尺寸1080x810
台湾奥齿泰ts迷你是哪种
图片尺寸800x496
赛德阳光口腔邀请北京和胜义齿张磊医生分享全口扫描取模原理和适应症
图片尺寸812x488
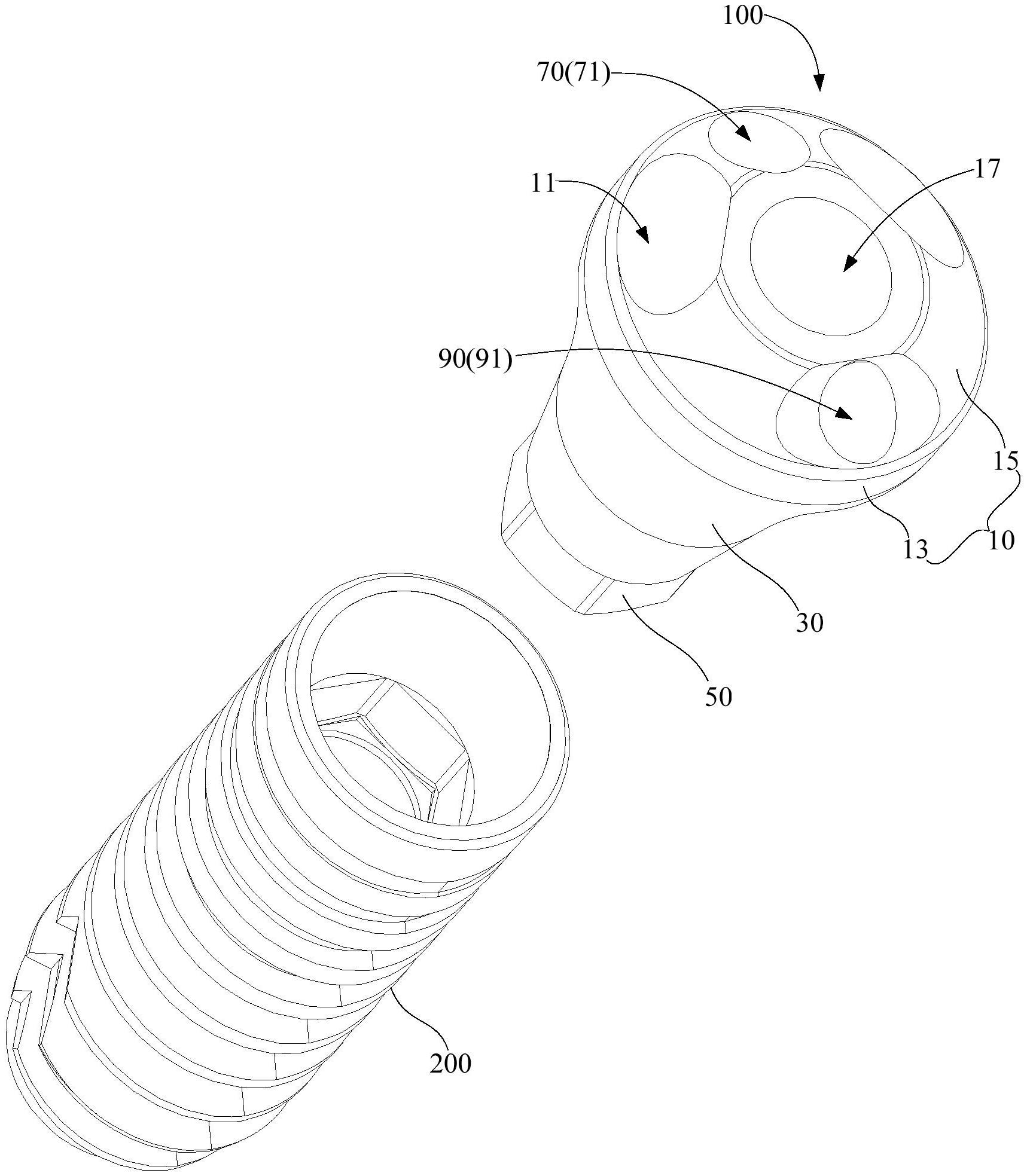
扫描杆
图片尺寸1717x1967
种植修复采用合适的种植体扫描杆(士卓曼)进行数字印模.
图片尺寸1306x762
厂家推荐 畜牧电子标签阅读器扫描仪 宠物芯片阅读器扫描机
图片尺寸1000x1333