科百特滤芯

prnf/prnn系列 光刻胶用终端绝对过滤滤芯--科百特cobetter
图片尺寸470x470
科百特cobetter 聚醚砜折叠滤芯 全新apsea0500hsf20sp 5.0μm议
图片尺寸720x851
新华灭菌柜压缩气滤芯科百特cobotter slvf-gpfm0022sp,2.5寸.
图片尺寸1284x2776
csd系列层叠纸板滤芯--科百特cobetter
图片尺寸270x252
科百特cobetter 空气折叠滤芯 gtf00003tc10s 130aps0045n10e议
图片尺寸1170x1374
山东新华脉动真空灭菌柜科百特滤芯gpfmp0022sscm05sp,0.22um.
图片尺寸1284x2776
临城蒸汽过滤滤芯专业制造厂家
图片尺寸800x600
供应 科百特陶瓷色釉料过滤芯 pall无
图片尺寸1920x982
滤芯
图片尺寸602x678
pes折叠滤芯
图片尺寸700x700
杭州科百特过滤器材有限公司
图片尺寸270x456
aet/aptf系列类全氟结构滤芯--科百特cobetter
图片尺寸370x370
lgfp-p 高效的液体预滤芯--科百特cobetter
图片尺寸370x370
天然气滤芯批发2022已更新今日本地公司
图片尺寸571x1015
rk12系列一体式滤芯
图片尺寸370x370
lpf/lhpf系列聚四氟乙烯膜滤芯
图片尺寸370x370
rkcls11010lu低压天然气过滤器滤芯
图片尺寸600x450
高效率除菌级滤芯--科百特cobetter
图片尺寸340x455
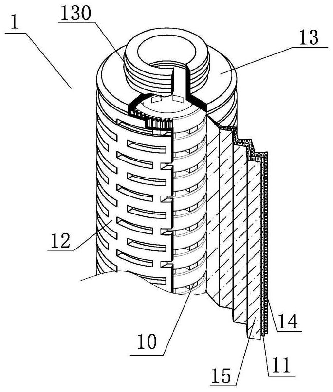
摘要附图摘要本实用新型提供的一种过滤器组件,包括外壳和滤芯,所述的
图片尺寸684x806
净水器滤芯全套装10寸pp棉颗粒活性炭压缩碳滤芯纯水机配件前三级
图片尺寸750x521