移动洗澡机拆解图

移动洗澡机
图片尺寸571x503
方形横流式冷却塔-冷却塔系列-消防排烟风机-3c防火阀-卧式暗装风机盘
图片尺寸847x1069
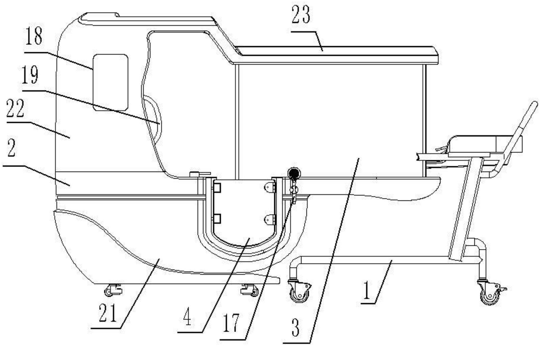
cn213046665u_一种智能洗澡机
图片尺寸1836x1179
巨炮快评篇七十一一直犯懒一直爽洗碗机选购思路美的华凌vie6晒单
图片尺寸1080x489
摩恩58331
图片尺寸790x403
你所经历过的最尴尬的事情是什么
图片尺寸900x814
一种智能洗澡机的制作方法
图片尺寸1000x643
图片浏览
图片尺寸400x331
移动洗澡机维修指导远程分析故障判断送配件电路板发热盘水泵水位
图片尺寸2736x2736
拆掉2022年慧曼i2旗舰款洗碗机全系拆机评测细小到每一个部件居然还
图片尺寸554x312
泰州同诚泵业有限公司
图片尺寸446x541
定制甬泉wnbb移动洗澡机配件发热盘控制器等定做 主板
图片尺寸800x800
移动洗澡机简易洗澡热水神器智能储水速热断电淋浴便携式免安装农村
图片尺寸800x800
原装移动洗澡机按键电脑电路板显示器控制板电源板主板带断电配件
图片尺寸3024x4032
wnbb甬泉移动洗澡机原装正品线路板电源板主板按键控制板显示器
图片尺寸3024x4032
居壹生移动洗澡机节能简易洗澡神器家用移动式储水速热断电淋浴租房宿
图片尺寸800x800
正品原装移动洗澡机水位传感器温度传感器温控
图片尺寸1080x1920
rsa-70a移动洗澡机 100促销款(插电洗)
图片尺寸800x800
小型dc12v24v直流无刷耐高温移动洗澡机太阳能热水器出水增压水泵
图片尺寸800x800
移动洗澡机配件大全水位水温传感器连接线三通硅胶管出水螺丝排水
图片尺寸1200x1200