移动营业厅简笔画

移动便利店简笔画步骤图
图片尺寸750x500
移动简笔画
图片尺寸500x373
手残党简笔画【49/100】95手机简笔画 西西最近在摆烂,每天都在玩
图片尺寸960x1280
喜羊羊与灰太狼快乐童年记忆——少儿美术懒羊羊简笔画
图片尺寸640x853
手机简笔画
图片尺寸1080x1440
简笔画蛇,坚持打卡 #绘画
图片尺寸960x1280
移动中期业绩解读:接着奏乐接着舞?
图片尺寸576x508
华为移动路由5g cpe手绘华为手机简笔画图片华为开学季手机端图片素材
图片尺寸1197x1200
简笔画 平面图 手绘 线稿 6401024 竖版 竖屏刷移动支付简笔画饭店
图片尺寸500x559
画手机简笔画画手机简笔画可爱
图片尺寸300x200
简笔画的危害
图片尺寸500x365
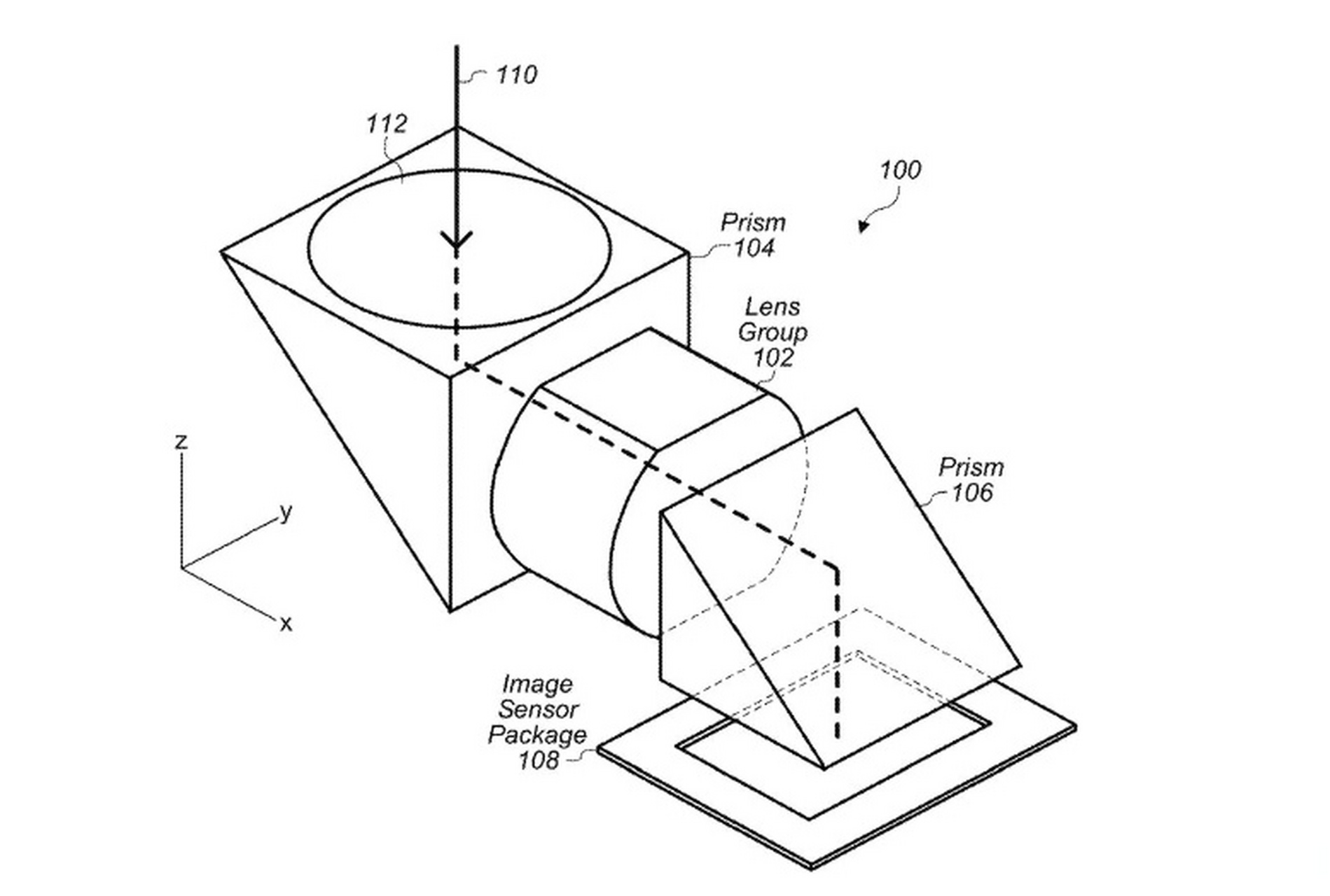
【苹果iphone电动潜望摄像头专利公布 可折叠移动,让背面减少凸起】 8
图片尺寸1899x1280
可打印丨各类简笔画大全100种99的家长已收藏假期和孩子一起画一画
图片尺寸640x602
网络e时代简笔画
图片尺寸500x297
移动支付的简笔画
图片尺寸399x399
简笔画戴耳机的男生
图片尺寸500x500
手机拨号矢量图简笔画交通运输
图片尺寸300x300
【苹果获得新技术专利,airpods或可通过头部移动控制音量】 据it之家
图片尺寸911x1280
男子推手推车,送货概念,物流或移动.矢量卡通简笔画
图片尺寸1024x870
简笔画水晶,坚持打卡 #绘画
图片尺寸960x1280