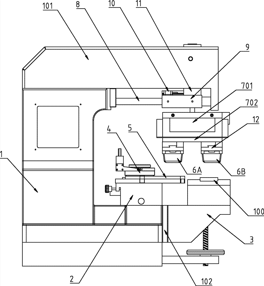
移印机结构图

syd系列移印机详细说明书
图片尺寸1203x1868
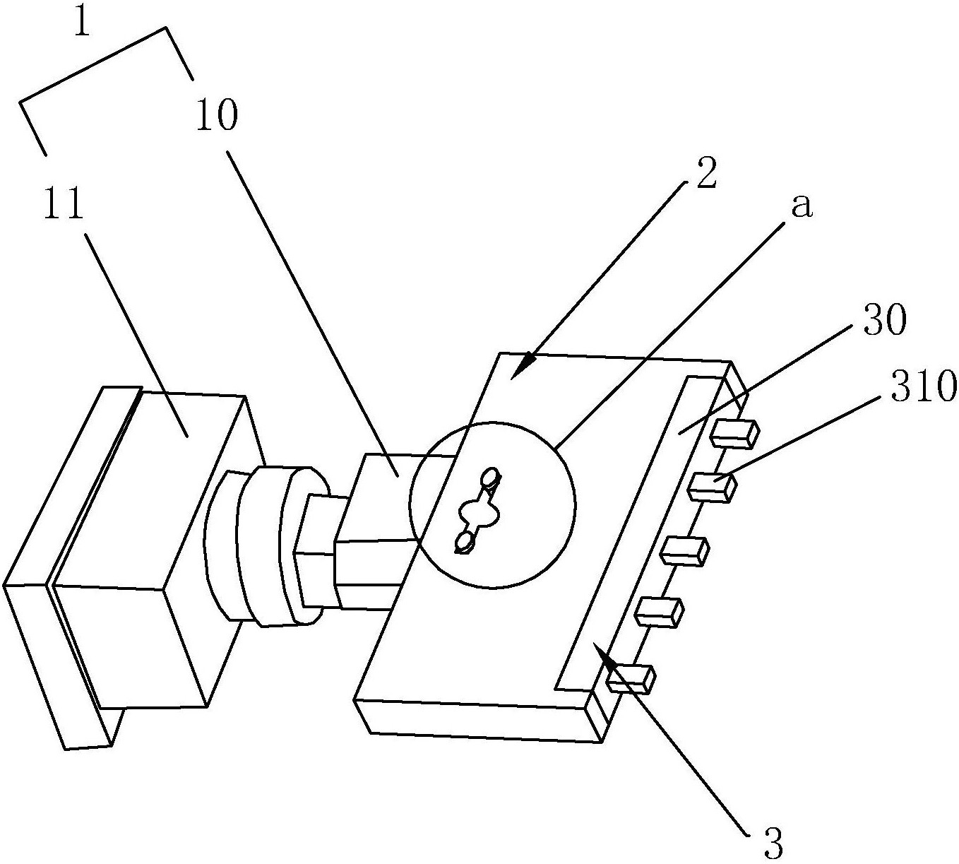
一种具有操作屏幕防护结构的圆管移印机的制作方法
图片尺寸1228x1314
龙昌移印机说明书:
图片尺寸2381x3368
龙昌移印机说明书:
图片尺寸2381x3368
图片尺寸922x1000
龙昌移印机说明书:
图片尺寸2381x3368
thestructureofthepadprintingmachine
图片尺寸900x1200
一种双色移印设备制造技术,双色穿梭移印机专利
图片尺寸779x1000
一种机械手自动上下料移印机
图片尺寸990x607
单色移印机wn
图片尺寸656x560
一种油盘立式单色移印机的移印头结构
图片尺寸1743x1231
龙昌移印机说明书:
图片尺寸2381x3368
一种免人工摆放的自动化移印机
图片尺寸800x757
一种数控移印机多轴联动平台角度微调结构
图片尺寸1376x975
新型公开了一种移印机上的传输装置,连接板与传输板为可拆卸的结构
图片尺寸1358x1223
龙昌移印机说明书:
图片尺寸2381x3368
syd200150气动单色移印机
图片尺寸1000x1500
一种数控移印机多色图案库机构及其实现方法技术
图片尺寸486x407
中仁专用鞋垫一烫两印油盘烫印机鞋子小型环保单色双色移印机批发 质
图片尺寸750x1191
全自动移印机内的胶盒上胶结构
图片尺寸800x707