移液器结构

research plus基本型 单道移液器0.1–2.5ul
图片尺寸2205x2992
一,移液器的结构4.移液器在移粘稠液体和一般液体时,操作方式一样吗?
图片尺寸633x622
移液器的组成部件
图片尺寸560x616
图3-3 移液器的结构(2)多通道移液器.
图片尺寸447x642
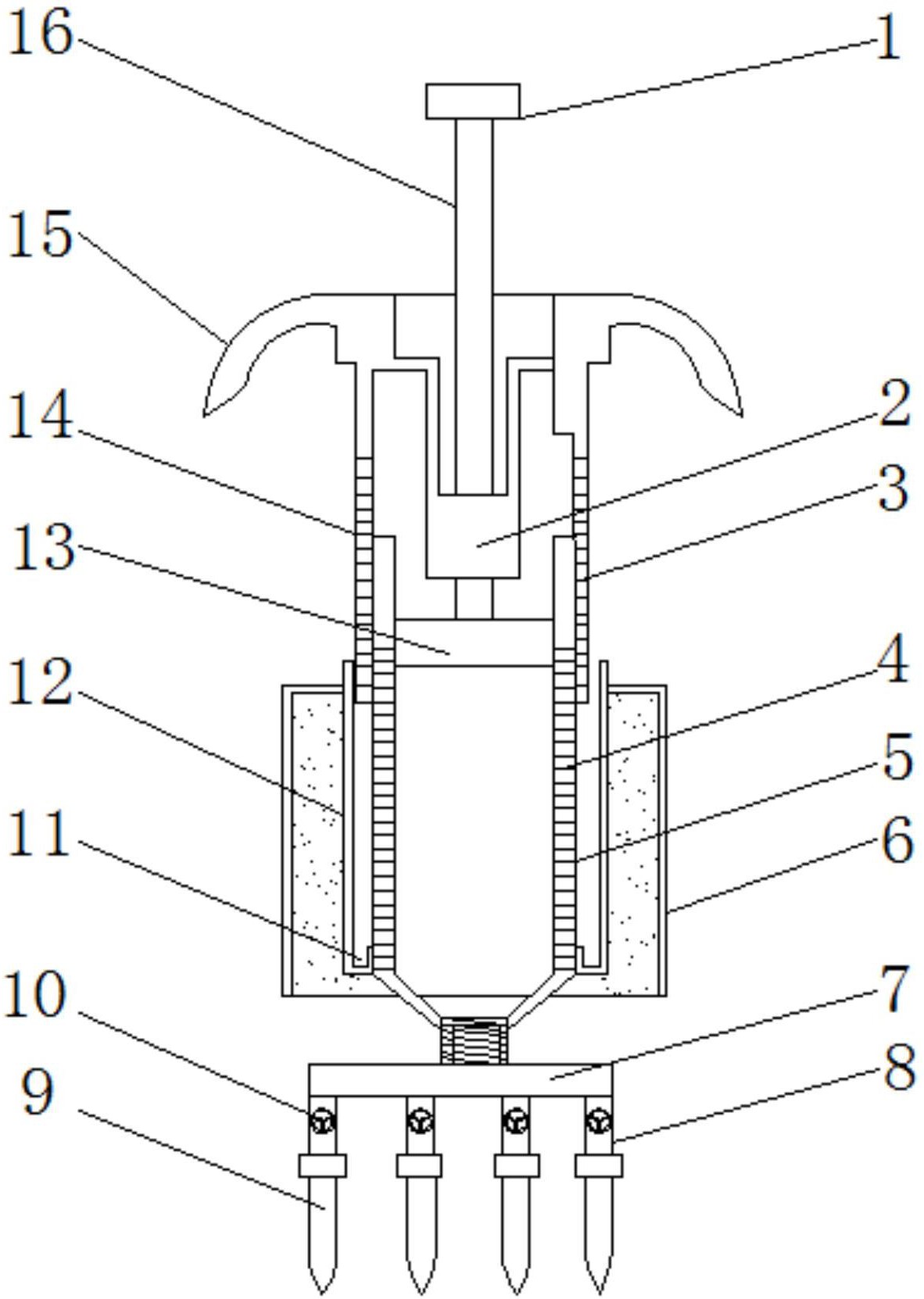
一种齿条移液枪
图片尺寸1410x2723
艾本德researchplus单道可调量程移液器紫外线灭菌密度可调进口移液器
图片尺寸804x880
天津本生 八道移液器
图片尺寸600x552
移液器结构
图片尺寸500x428
大龙移液器10-100μl 微量可调移液器 数字移液器
图片尺寸583x535
所述移液器由上至下依次包括:手柄,所述手柄为中空结构且内部设有总
图片尺寸1318x2115
移液器的正确操作和注意事项三
图片尺寸191x460
一种药品检测用液体定量移液器的制作方法
图片尺寸1000x967
移液器的结构
图片尺寸1080x810
颜色绿色适用范围1-10ml测量范围1-10ml结构形式可调式移液器类型单
图片尺寸790x1335
cn207899471u_一种医学检验用移液器有效
图片尺寸1182x1662
移液器到底是什么?
图片尺寸504x292
移液可调艾本本德单道器枪eppendorfresearchplus手动其它仪表仪器
图片尺寸800x800
磁吸移液器-爱企查
图片尺寸887x1399
分子生物学实验 微量可调移液枪的使用 微量可调移液枪的结构
图片尺寸1080x810
定量可调移液器试行检定规程摘要
图片尺寸525x363