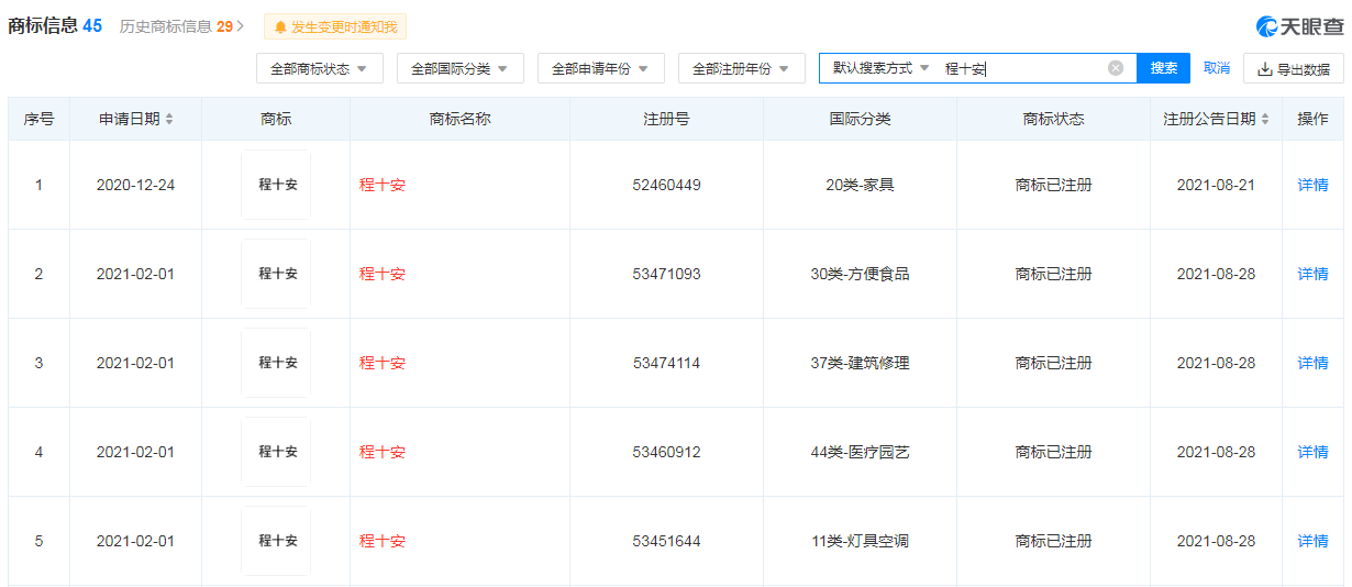
程十安缙嘉

分类:第41类-教育娱乐商标申请人:上海缙嘉科技有限公司办理/代理机构
图片尺寸589x582
缙嘉
图片尺寸800x550
上海缙嘉启动2023级mt项目,培养能挑大梁的复合型人才_管培生_发展
图片尺寸1080x721
直播间的故事|程十安在短暂封号后公开与上海缙嘉纠纷,主播与mcn之间
图片尺寸541x869
上海缙嘉创始人maggie
图片尺寸670x1015
又一个被资本裹挟的李子柒?程十安喊话mcn缙嘉:"别装了"
图片尺寸1080x2015
又一个被资本裹挟的李子柒?程十安喊话mcn缙嘉:"别装了"
图片尺寸1080x1632
上海缙嘉科技有限公司副总裁沈国磊张华渊:多渠道触达很重要,通过更
图片尺寸1080x720
又一个被资本裹挟的李子柒?程十安喊话mcn缙嘉:"别装了"
图片尺寸1080x1955
直播间的故事|程十安在短暂封号后公开与上海缙嘉纠纷,主播与mcn之间
图片尺寸1137x640
kimtrue且初,上海缙嘉科技有限公司旗下品牌,专注用户细节化需求,提供
图片尺寸1080x1278
直播间的故事|程十安在短暂封号后公开与上海缙嘉纠纷,主播与mcn之间
图片尺寸1230x534
直播间的故事|程十安在短暂封号后公开与上海缙嘉纠纷,主播与mcn之间
图片尺寸512x366
直播间的故事|程十安在短暂封号后公开与上海缙嘉纠纷,主播与mcn之间
图片尺寸623x214
又一个被资本裹挟的李子柒?程十安喊话mcn缙嘉:"别装了"
图片尺寸1080x593
又一个被资本裹挟的李子柒?程十安喊话mcn缙嘉:"别装了"
图片尺寸1080x552
上海缙嘉联合创始人沈瑜基于自身实践深度分享了企业的转型经验.
图片尺寸700x466
缙嘉年会 | 2021缙创辉煌,嘉越巅峰
图片尺寸1080x720
aa 美白精华,缙嘉出品,有人用过吗?
图片尺寸1080x1439
又一个被资本裹挟的李子柒?程十安喊话mcn缙嘉:"别装了"
图片尺寸1080x404