稳定结构

稳定杆有什么作用?
图片尺寸710x999
稳定杆
图片尺寸2304x1628
10压杆稳定1ppt
图片尺寸1080x810
压杆稳定1ppt
图片尺寸1080x810
汽车悬架的组成示意图: 横向推力杆 横向稳定杆 阻尼元件 弹性元件
图片尺寸1080x810
汽车稳定杆有什么作用?
图片尺寸878x508
结构稳定理论
图片尺寸860x645
结构稳定理论 周绪红【正版图书,放心购买】
图片尺寸600x801
图解咏春拳手法的三角结构与几何上三角形的稳定性的本质区别
图片尺寸1204x575
二 工程中常见的超静定结构类型
图片尺寸1080x810
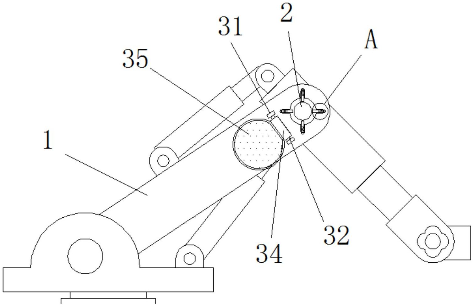
一种多关节机械手关节稳定结构
图片尺寸1509x976
钢结构设计原理第七章-压杆稳定
图片尺寸529x293
《材料力学》压杆稳定ppt
图片尺寸1080x810
横向稳定器
图片尺寸600x405
一种结构稳定的机械臂
图片尺寸1342x1109
百科
图片尺寸1489x2117
稳定型固定架制造技术,结构稳定的固定形式专利_技高网
图片尺寸1000x734
结构弹性稳定ppt
图片尺寸1080x810
一种高结构稳固性方钢管桁架
图片尺寸1729x1333
钢结构稳定理论chapter5ppt
图片尺寸1080x810