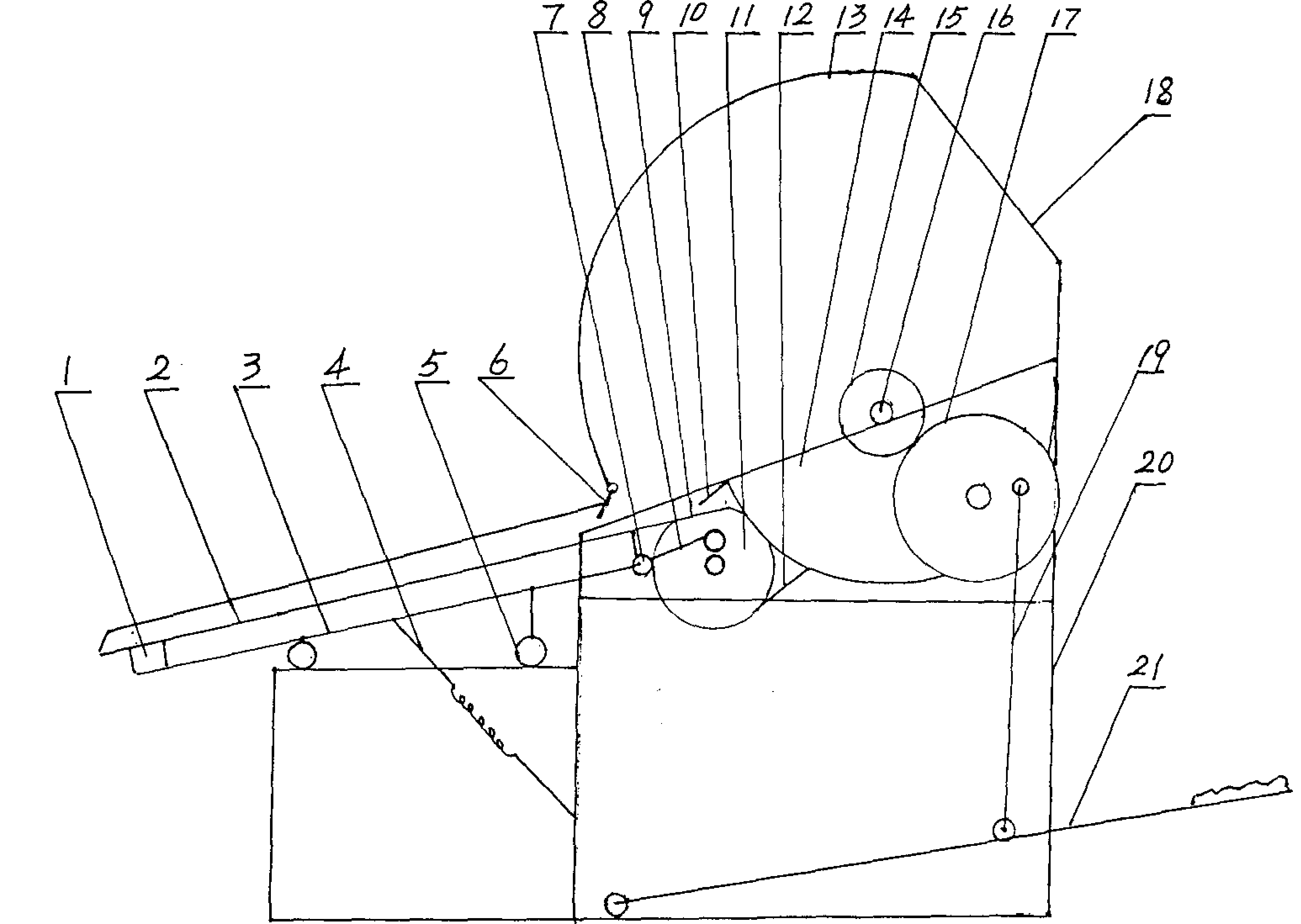
稻谷去石机原理图

一种谷物去石机的制作方法
图片尺寸1000x732
一种震动式大米去石机的制作方法
图片尺寸1707x1415
滚筒式清理除杂去石机
图片尺寸1407x2056
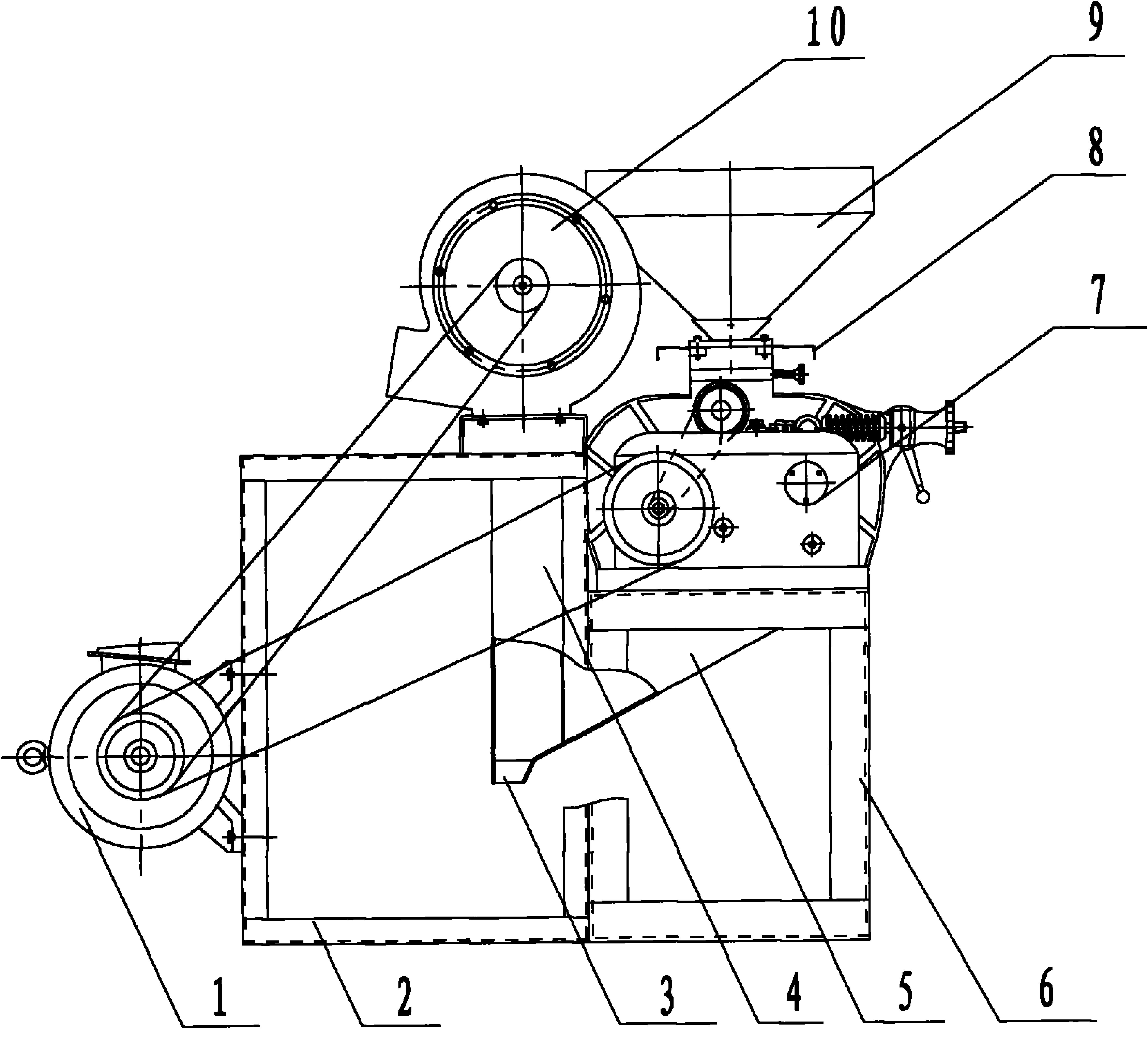
背景技术:1,砻谷机是稻谷处理的设备,其工作原理是令稻谷流入两只平行
图片尺寸1968x2173
砻谷机-爱企查
图片尺寸4953x4506
粮食 谷物 颗粒适用物料:健信粮机品牌:小麦,玉米,稻谷,豆类等适用
图片尺寸750x1678
一种脚踏式脱谷机失效
图片尺寸4640x3297
图片尺寸1920x2135
背景技术:比重去石机是一种利用颗粒物料
图片尺寸1000x985
洗石机,洗矿机,螺旋洗砂机,石英砂擦洗桶
图片尺寸727x869
并肩石的干法处理机械,该设备主要用于粮食加工,可以清理小麦,稻谷
图片尺寸1000x994
比重去石机
图片尺寸389x477
比重去石机的制作方法
图片尺寸1000x823
一种吸式比重去石机的制作方法
图片尺寸1000x987
厂家直销碾米机,碾米去壳机,碾米去皮子质保一年
图片尺寸766x1012
比重去石机
图片尺寸742x737
比重去石机包括吸式比重去石机和吹式比重去石机,两者工作原理存在
图片尺寸1000x977
🎯机械设计全解析:剥壳机设计案例
图片尺寸1280x663
吸式比重去石机的结构
图片尺寸384x474
古代抛石机简笔画
图片尺寸353x475