空心杯电机图解

空心杯微型直流电机结构分析
图片尺寸640x761
中金:空心杯电机的一二三
图片尺寸719x354
乐泰胶黏剂在空心杯电机中的应用
图片尺寸274x184
空心杯电机迎国产替代机遇,人形机器人助力市场扩容(附下载)_外资
图片尺寸1280x720
中金:空心杯电机的一二三
图片尺寸1080x511
空心杯电机和它的永磁体
图片尺寸1080x706
空心杯无刷电机结构图是怎么样的新和电机
图片尺寸806x449
五颗星空心杯电机可应用范围及结构特点剖析,一文读懂
图片尺寸750x423
人形机器人行业报告:人形机器人的动力核心电机
图片尺寸794x1123
空心杯有刷直流电机原理和优缺点
图片尺寸640x480
namiki有刷空心杯直流电机|namiki无刷空心杯直流电机|namiki步进电机
图片尺寸434x273
空心杯异步测速发电机原理示意图
图片尺寸700x358
百度爱采购首页 商品专题_电机组成因为空心杯电机体积小,很多对体积
图片尺寸1280x625
一种微型静音水泵用空心杯无刷电机的制作方法
图片尺寸1000x581
人形机器人的optimus时刻系列空心杯电机小巧高效灵巧手赋能全新市场
图片尺寸793x1122
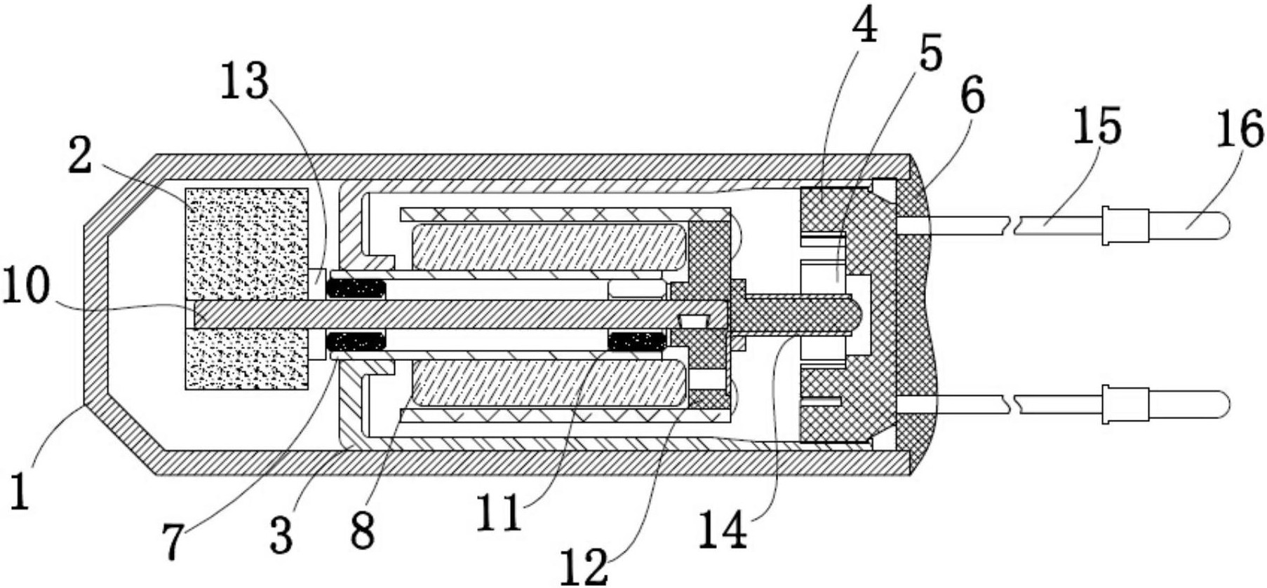
一种有刷直流空心杯震动密封型电机
图片尺寸1806x839
空心杯电机调速原理
图片尺寸602x234
2023人形机器人妙用于灵巧手空心杯电机迎广阔空间附下载
图片尺寸793x1122
cn207743833u_双磁场微型空心杯电机有效
图片尺寸1888x998
无刷空心杯电机
图片尺寸1920x2440