空气滤清器 结构

求空气过滤器结构图
图片尺寸543x799
压缩空气精密过滤器结构图
图片尺寸881x1024
空气滤清器基础知识
图片尺寸435x263
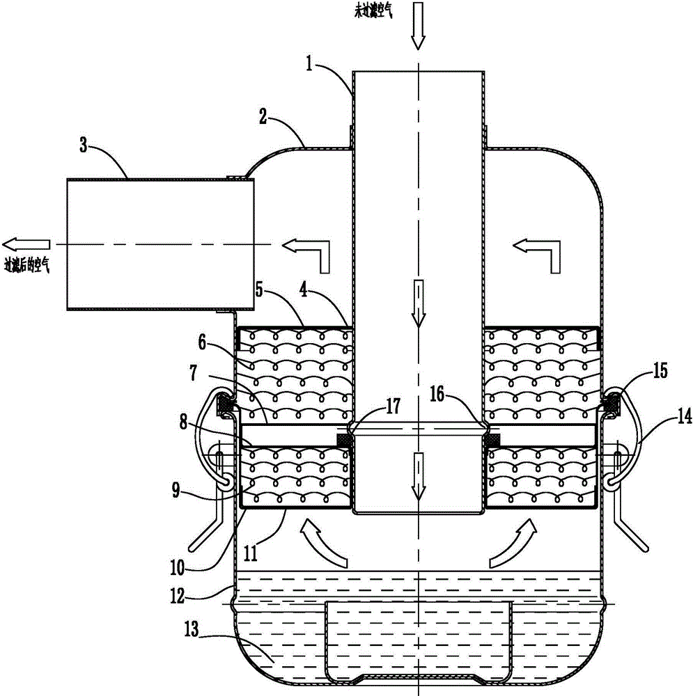
cn102797603a_环保节能型油浴式空气滤清器失效
图片尺寸995x1000
空气滤清器 12-纸制滤芯 121313-上壳体 1515-下壳体 1515-带粗滤器进
图片尺寸1080x810
油浴式空气滤清器,不用备件的保养
图片尺寸544x664
frl700c frl600c特供台湾新恭shako空气过滤器 一级代理 有质保
图片尺寸600x541
如何正确维护空气滤清器
图片尺寸491x371
大运小讲堂空气护卫空气滤清器总成
图片尺寸600x400
有哪3种常见空气滤清器滤清方式及构造?
图片尺寸1200x744
smc空气过滤器的安装及结构示意图解
图片尺寸697x436
柴油发电机组空气滤清器的滤清方式
图片尺寸1543x961
空气过滤器的工作原理
图片尺寸341x475
空气过滤器的结构原理
图片尺寸1411x1177
smc空气过滤器的安装及结构示意图解
图片尺寸656x478
供应邦诺空气除尘过滤器
图片尺寸551x404
smc过滤器af30系列结构原理图
图片尺寸486x724
空气滤清器的作用是什么-空气滤芯的作用及性能-第2张图片
图片尺寸750x750
本田十代思域防尘油性空气滤芯crv冠道urv皓影15t原厂空调滤清器空气
图片尺寸790x916
各种过滤器的原理及结构
图片尺寸1411x1177