空气轴承原理图

空气轴承是什么空气轴承原理
图片尺寸350x233
空气悬浮轴承
图片尺寸550x328
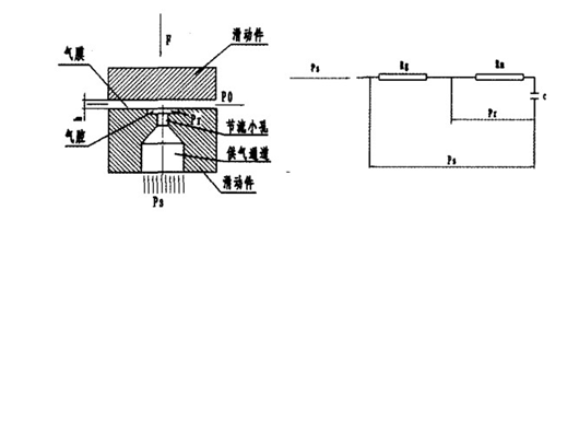
具体见附图 工作原理 编辑 空气轴承是利用空气弹性势来起支承作用的
图片尺寸200x184
了解空气轴承 01.png
图片尺寸600x338
一种底板通用型空气动压轴承的制作方法
图片尺寸395x443
空气轴承是什么?空气轴承原理
图片尺寸528x307
空气悬浮鼓风机轴承2.jpg
图片尺寸750x400
其工作原理为:压缩空气从喷嘴的右侧进入压缩空气腔(9),再从油气混合
图片尺寸409x292
p>气体轴承,用气体作润滑剂的 a href="#" data-lemmaid="2606769">
图片尺寸592x407
图2 空气静压轴承工作原理图1 空气动压轴承工作原理空气静压轴承的
图片尺寸500x243
高性能空气轴承电机的制作方法
图片尺寸487x335
空气轴承知识空气轴承工作原理和特点
图片尺寸645x384
弹性箔片空气轴承的制作方法
图片尺寸917x881
一种静压空气轴承气动马达
图片尺寸1914x1440
其结构和工作原理与液体滑动轴承类似,不同的是采用气体(多为空气)
图片尺寸519x405
1,空气悬浮轴承
图片尺寸750x478
一种空气轴承电主轴的制作方法
图片尺寸1000x400
什么是空气轴承,真的能无摩擦磨损吗?_前沿数控
图片尺寸1080x617
什么是空气轴承真的能无摩擦磨损吗
图片尺寸1080x640
什么是空气轴承,真的能无摩擦磨损吗?_气垫_表面_滚珠
图片尺寸440x187