空腔结构

鼓室(tympanic cavity)为含气空腔,分 外,内,前,后,顶, 底六壁
图片尺寸1080x810
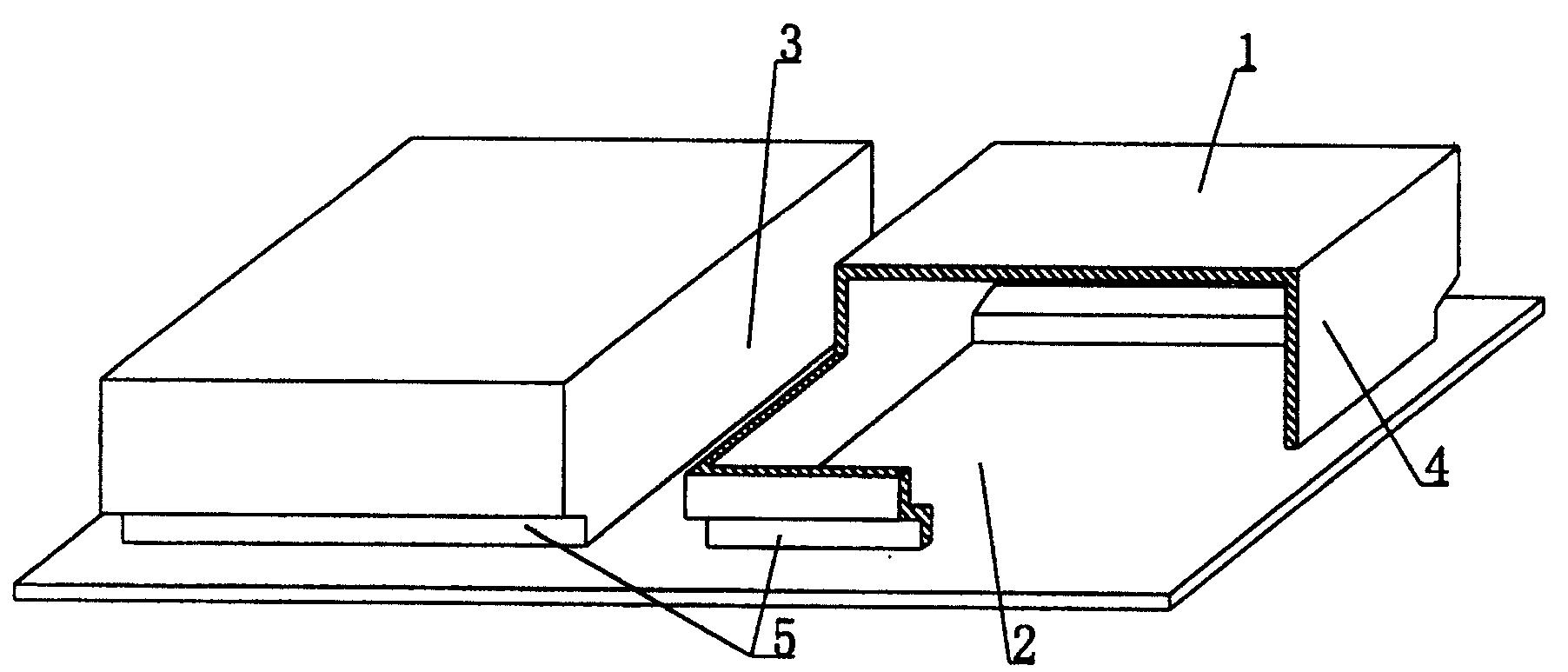
其侧面与底板(2)构成至少一条现浇结构内肋模腔(3),空腔模壳(1)的其它
图片尺寸1696x813
摘要附图摘要一种空腔构件,包括有空腔模壳(1),结构底板(2),空腔模壳
图片尺寸1417x674
一种空腔构件-爱企查
图片尺寸1804x773
其侧面与底板(2)构成至少一条现浇结构次肋模腔(3),空腔模壳(1)的其它
图片尺寸1744x808
多孔固体中与外界连通的空腔和孔道称为开孔(openpore),包括交联孔,通
图片尺寸600x383
它有4个空腔,按照位置关系,这4个腔分别叫作左心房,左心室,右心房,右
图片尺寸456x353
什么是空腔共振吸声结构?下篇
图片尺寸1250x1378
结构带空腔的地下室 采光通道=完美地窖
图片尺寸600x1206
cn110587103b_一种基于应力离散分布的超高强钢多空腔结构的焊接方法
图片尺寸1366x539
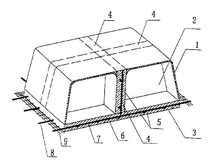
一种空间结构楼盖预制空腔构件-爱企查
图片尺寸709x542
保卫细胞 气孔 表皮细胞 气孔:由一对半月形的保卫细胞围成的空腔
图片尺寸1080x810
一种新型建筑用墙体大转角空腔模块的制作方法
图片尺寸302x363
这个结构空腔算不算建筑面积,(结构空腔进不去)
图片尺寸865x536
jacs:空腔结构na3n的金属相
图片尺寸500x415
一种硬盘壳体空腔结构的制作方法
图片尺寸363x355
一种抑制泄漏损失的闭式向心涡轮轮盖-机匣空腔结构的制作方法
图片尺寸1000x938
一种适用于小批量车辆生产的车身空腔隔断结构-爱企查
图片尺寸800x572
人体器官解剖图医院布置p>子宫是女性内生殖器官之一,是一空腔器官
图片尺寸658x731
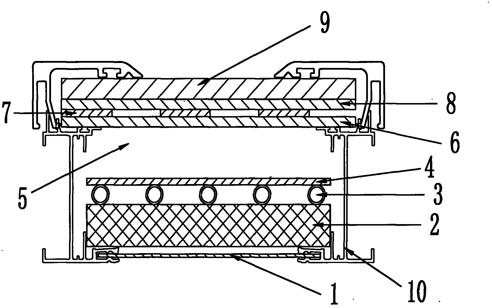
空腔结构光伏光热一体化组件
图片尺寸1697x1061