空调电机结构

什么是变频电机变频电机与普通电机的区别尽在这里
图片尺寸1080x810
电机结构图-利明电机
图片尺寸640x232
第二章 冷暖设备的结构及作用 第一节 家用空调的结构及作用
图片尺寸3078x1382
三相异步电动机调速方式
图片尺寸729x493
空调中使用的电机你了解多少
图片尺寸599x353
海尔空调交流直流电机知识培训
图片尺寸1080x810
空调机最大运行电流及最大运行功率的计算
图片尺寸401x225
第二章 冷暖设备的结构及作用 第一节 家用空调的结构及作用
图片尺寸2770x3638
3种异步电机常用调速方法解析哪一种比较好
图片尺寸640x358
电动汽车驱动电机的高低温湿热试验步骤
图片尺寸638x436
空调器结构和工作原理|ups论坛-ups知道网 -; 制冷压缩机的工作循环
图片尺寸328x394
【涨知识】关于"高效电机"的推广前景及应用前景
图片尺寸640x394
所有分类 工程科技 机械/仪表 大金空调压缩机ppt 直流无刷电机原理图
图片尺寸1080x810
窗机,分体机,移动空调运作分别及特点 垂直导风板的驱动电机 垂直风向
图片尺寸1080x810
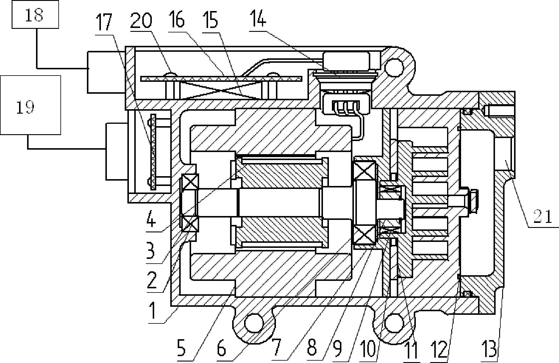
汽车空调用一体式电动压缩机总成-爱企查
图片尺寸1878x1220
cn1427222a_吸顶式空调器室内机电机的安装结构失效
图片尺寸709x463
纯铜线芯交流无刷异步电机风扇空调扇鼓风机电机ysy75系列
图片尺寸1000x1500
背景技术:现有变频空调为永磁同步电机,使用永磁体转子结构,行业多
图片尺寸1000x962
三菱电机中央空调价格
图片尺寸944x720
为什么空调打开后发动机动力性明显下降了?
图片尺寸640x371