穿孔铝板施工图

一种单元式穿孔铝板幕墙连接结构的制作方法
图片尺寸1000x807
外墙冲孔铝单板施工图附做法
图片尺寸610x432
穿孔铝板节点图
图片尺寸760x571
厂家直销镂空金属雕花板做工精细艺术雕刻铝单板装饰墙幕墙铝板
图片尺寸662x606
穿孔铝板与铝合金窗组合节能装饰一体化幕墙的制作方法
图片尺寸560x1000
规则冲孔包柱铝单板厂家
图片尺寸960x1694
墙面穿孔铝板安装图0
图片尺寸900x545
建筑开窗外遮阳穿孔铝板
图片尺寸750x529
穿孔铝板连接大样图.png
图片尺寸760x429
【冲孔铝单板厂家】 冲孔铝单板的规格和安装示意图
图片尺寸940x416
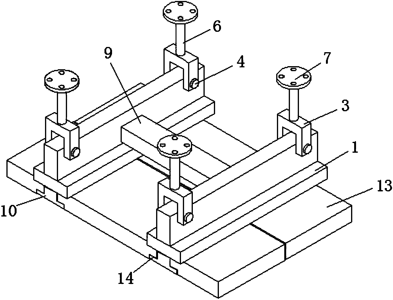
一种单元式穿孔铝板幕墙连接结构的制作方法
图片尺寸1000x806![[分享]穿孔铝板吊顶安装节点资料下载](https://i.ecywang.com/upload/1/img0.baidu.com/it/u=3170741386,2417096854&fm=253&fmt=auto&app=138&f=JPEG?w=560&h=293)
[分享]穿孔铝板吊顶安装节点资料下载
图片尺寸560x293
cn207829271u_一种折面穿孔铝板吊顶安装结构有效
图片尺寸1659x1265
一份关于波纹穿孔铝板及肋玻的施工图纸,好了很久了~拿出来晒晒
图片尺寸878x732
一种大面积穿孔铝板吊顶安装结构的制作方法
图片尺寸1000x542
铝板幕墙节点详图,cad格式,绘制详细,编制铝板幕墙施工方案可参考借鉴
图片尺寸373x560
一种穿孔铝板幕墙的连接结构的制作方法
图片尺寸1000x860
一种l型穿孔铝板固定遮阳板的制作方法
图片尺寸1000x896
铝单板镂空雕花门头冲孔板定做幕墙包柱定制穿孔铝板吊顶铝材工厂cad
图片尺寸799x499
【冲孔铝单板厂家】 冲孔铝单板的规格和安装示意图
图片尺寸782x503