窗机 结构图

推拉窗结构.jpg
图片尺寸850x1085
窗式空调器的制作方法
图片尺寸1000x861
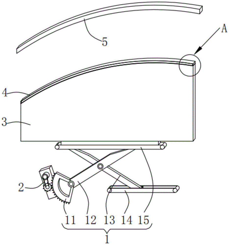
cn213710782u_运行可靠的全自动智能窗户有效
图片尺寸982x1719
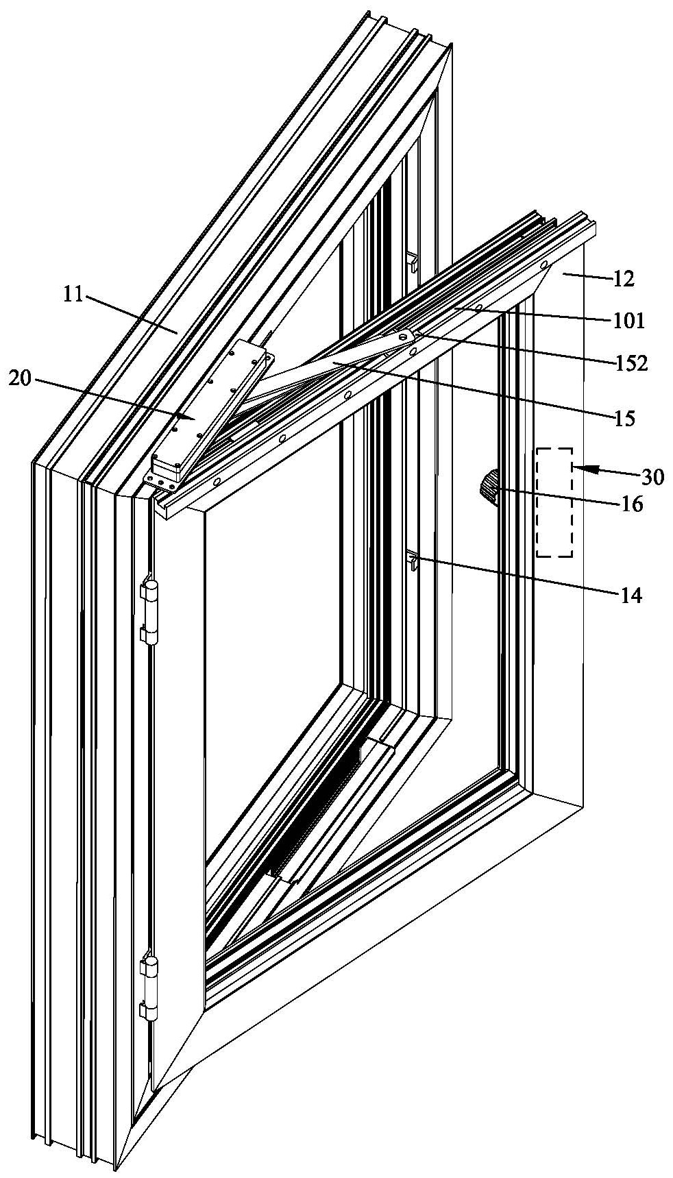
cn209724011u_一种感应式自动启闭的电动车窗有效
图片尺寸935x1000
螺杆式开窗器 电动推杆 推轴式开窗机 大螺杆 1000n 消防排烟窗
图片尺寸1007x557
上悬窗手摇开窗机
图片尺寸581x600
杜亚电动推窗器自动开窗机遥控天窗大链条式dj51.dt51s.dj56.
图片尺寸750x500
电动开窗器平开窗 遥控天窗 大链条式开窗器 推拉窗推窗机 智能窗
图片尺寸950x797
电动双推链条式开窗器
图片尺寸750x684
手摇开窗器平开窗曲臂手摇开窗机铝合金消防排烟窗手动开窗器内外开高
图片尺寸600x600
荣成手动开窗机生产厂家
图片尺寸600x400
一种便于高楼层擦窗的擦窗机
图片尺寸2798x1478
一种多功能百叶窗
图片尺寸1695x1833
厂家定制链条式电动开窗机双链条电动开窗器电动链
图片尺寸750x405
折叠窗(六杆机构的应用)图纸合集的封面图
图片尺寸285x319
背景技术::现有的窗式空调器位于室内一侧通常采用离心风机,由于离心
图片尺寸1000x972
cn2916451y_一种窗式空调器失效
图片尺寸1969x2371
电动开窗器手摇开窗器平开窗开窗机曲臂支架上中下机智能铝合金消防
图片尺寸716x522
kc1上悬,中悬天窗电动开窗机
图片尺寸1280x900
凯铭冠双链条电动开窗器大链条式开窗机消防天窗排烟换气天窗品牌
图片尺寸800x497