窗槛墙示意图

窗槛墙示意图
图片尺寸550x331
窗槛墙
图片尺寸715x441
窗间墙,窗槛墙部位-可否采用防火窗?
图片尺寸640x385
窗间墙,窗槛墙部位-可否采用防火窗?
图片尺寸640x448
幕墙窗槛墙是什么?
图片尺寸600x320
窗槛墙
图片尺寸300x200
隔扇槛窗古建门窗墙面构件详解
图片尺寸640x367
有窗槛墙的幕墙窗
图片尺寸484x443
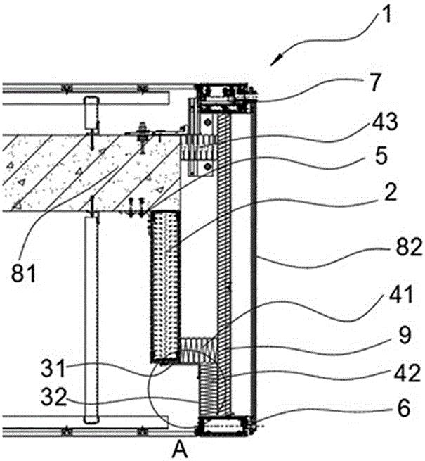
一种防火窗槛墙结构
图片尺寸605x655
在建筑方面,作为墙体,窗框和窗扇的重量可以忽略,所以窗槛墙视为不
图片尺寸350x199
格栅门和槛窗的构造区别
图片尺寸640x833
【请教】关于高层住宅窗槛墙不小于1200的问题
图片尺寸402x297
因此对有窗槛墙的防火分区以楼面水平线划分并不合理,而宜以楼面,楼面
图片尺寸560x253
窗户,窗台板安装构造示意图——窗框位于结构墙外侧.jpg
图片尺寸1000x521
需要建筑设计企业和墙幕设计企业的协调合作,综合考虑窗槛墙防火和
图片尺寸325x317
隔扇槛窗古建门窗墙面构件详解
图片尺寸609x572
建筑防火有关阳台窗槛墙的设置争议家庭防火须知
图片尺寸576x270
单元与单元之间设有防火墙, 户门为甲级防火门,窗间墙宽度,窗
图片尺寸1080x810
窗户墙竖剖节点图1
图片尺寸408x446
隔扇槛窗古建门窗墙面构件详解
图片尺寸640x522