立式储油罐结构图

一种立式储油罐-爱企查
图片尺寸800x750
一种兼具贮液器和洗涤式油分功能的立式虹吸罐
图片尺寸1501x2239
油罐结构示意图
图片尺寸580x450
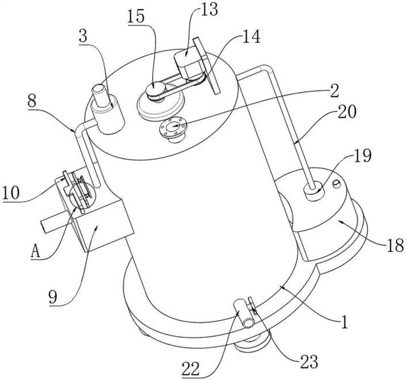
一种辣椒籽油立式储油罐的制作方法
图片尺寸337x444
原油罐结构示意图
图片尺寸694x587
10立方米立式贮罐cad图纸
图片尺寸800x1011
立式 锥底
图片尺寸980x650![[分享]钢制立式储罐资料下载](https://i.ecywang.com/upload/1/img0.baidu.com/it/u=1012800199,2340536921&fm=253&fmt=auto&app=138&f=JPEG?w=516&h=500)
[分享]钢制立式储罐资料下载
图片尺寸560x543
油罐立式
图片尺寸870x484
一种立式储气罐
图片尺寸1357x1678
口 检 查 口 出油管 油浮子 3m 油位 高度 1m 2m 油 6m 1m 储油罐
图片尺寸1080x810
立式储油罐_立式储存罐_大型立式储油罐
图片尺寸450x300
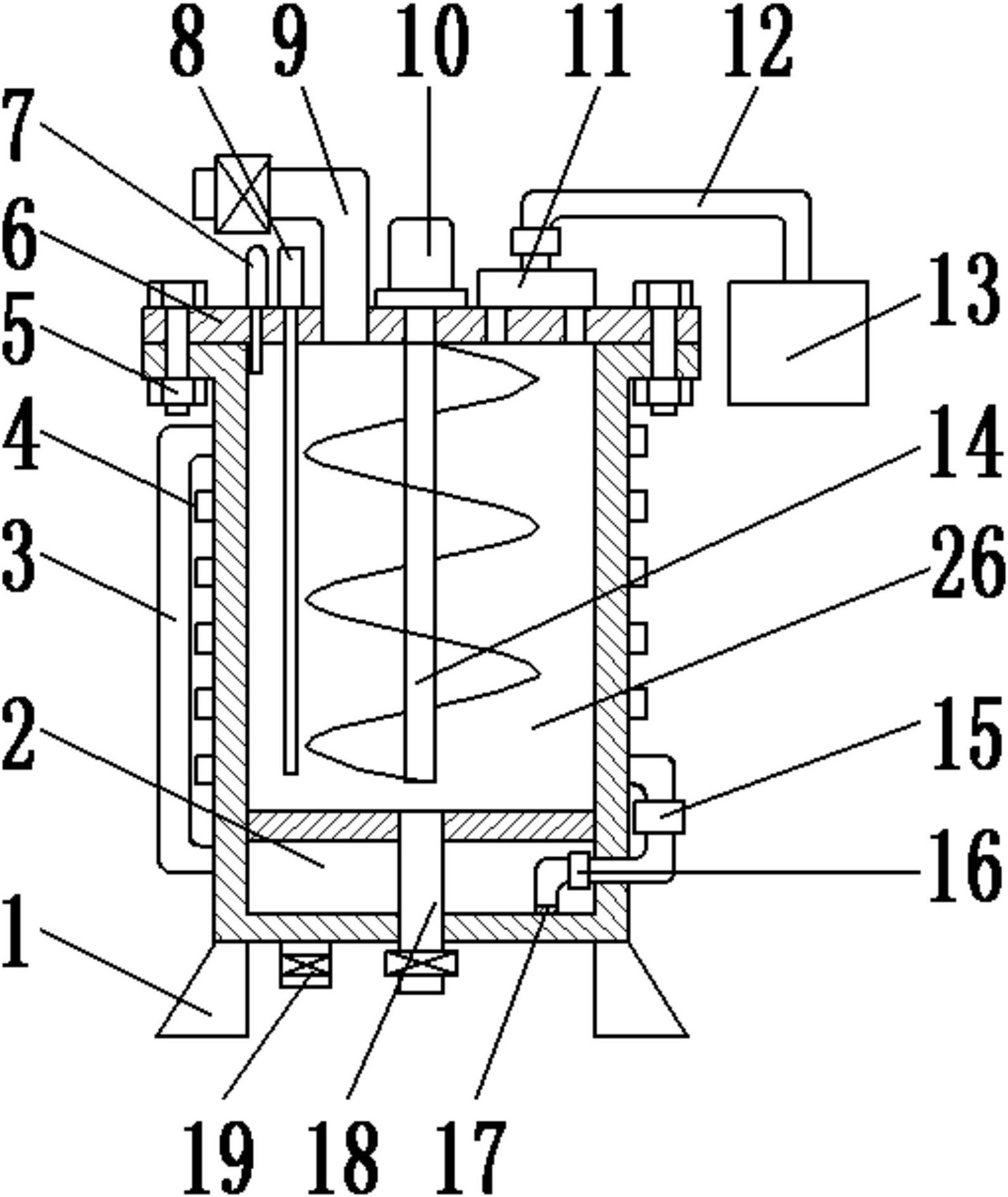
一种辣椒籽油立式储油罐的制作方法
图片尺寸425x665
冷库立式储液罐内部结构
图片尺寸407x500
一种立式防分层的易挥发石油化工液体储物罐
图片尺寸1596x1895
15立方液碱立式储罐
图片尺寸800x500
液化石油气储罐--50立方地埋
图片尺寸2500x3540
一种高温碱液储罐
图片尺寸1750x2018
某200立方立式金属储油罐结构施工图
图片尺寸610x432
立式斜板沉降除油罐
图片尺寸446x305