立式分离器结构图

三相立式分离器原理及结构
图片尺寸387x495
立式三相分离器 油水汽分离器结构
图片尺寸316x382
立式气液分离器设计计算
图片尺寸1754x2479
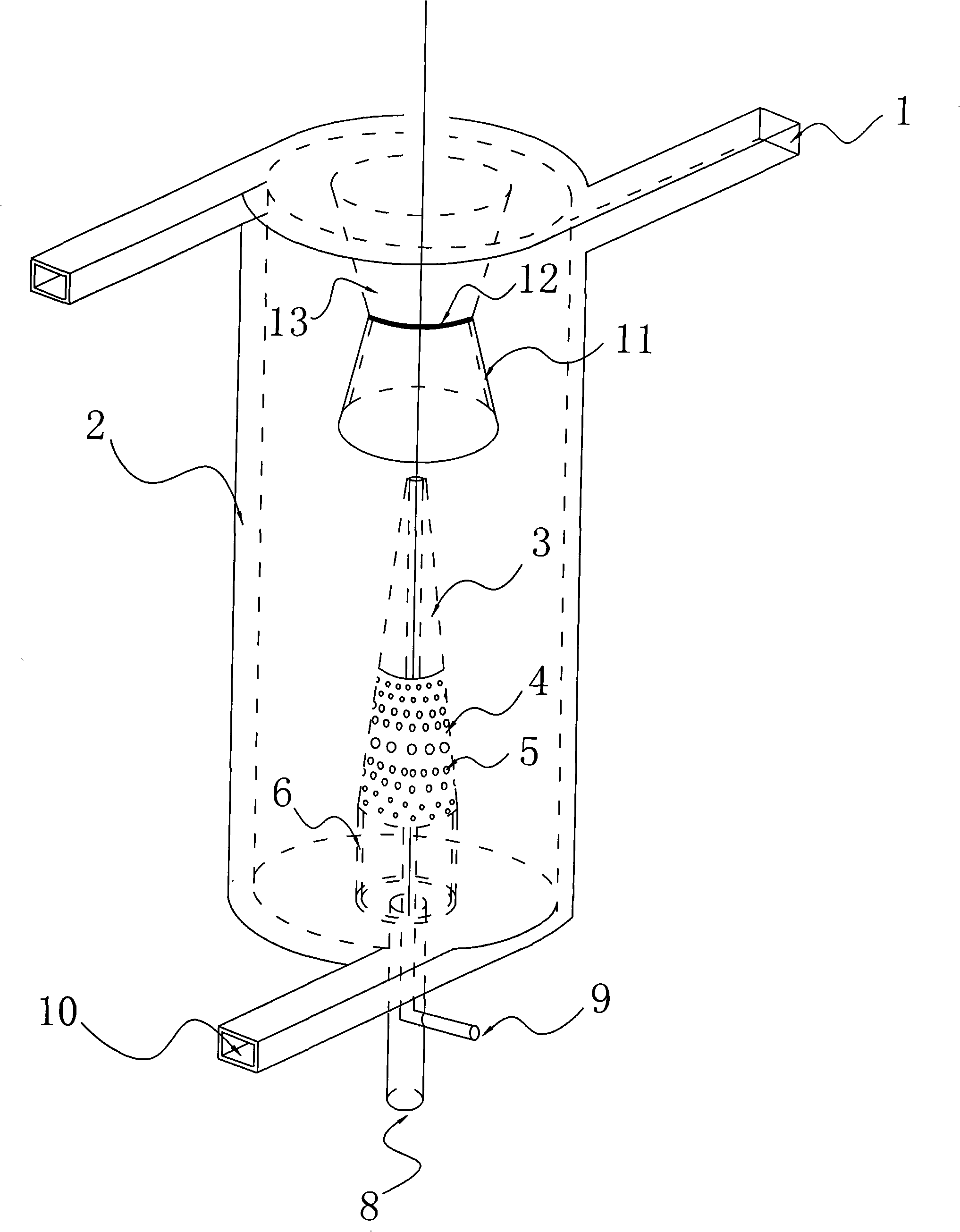
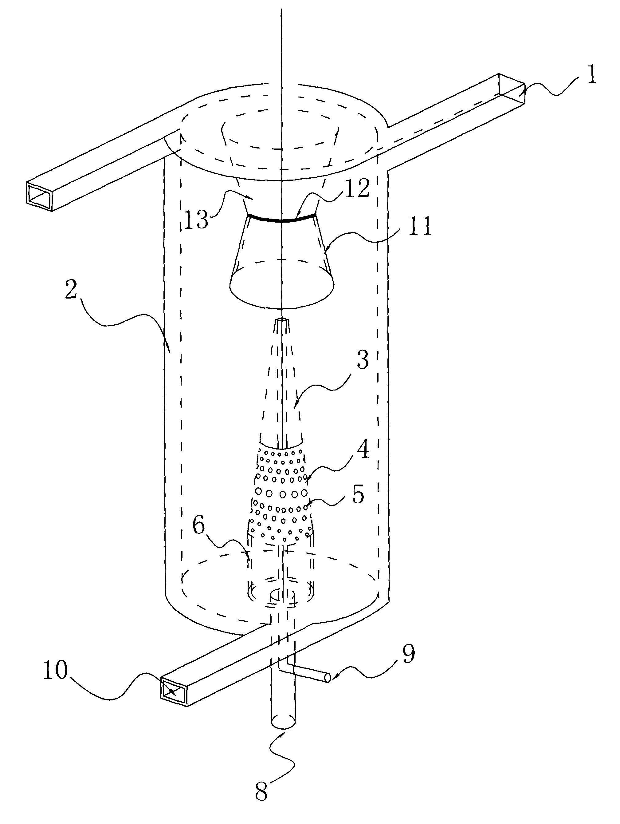
一种立式气液分离器制造技术
图片尺寸473x1000
一种四级分离高效型油分离器-爱企查
图片尺寸1376x1723
立式汽液分离器制造技术
图片尺寸894x1000
一种立式油气分离器的制作方法
图片尺寸734x1000
一般卧式三相分离器立式两相分离器分离原理:气液混合流体经气液进口
图片尺寸640x480
不锈钢法兰立式旋风式汽水分离器-汽水分离器-产品中心-新乡市菲利特
图片尺寸1000x561
立式多级分离器制造技术
图片尺寸798x1000
一种立式三相分离器的制作方法
图片尺寸886x1000
一种蒸汽系统用汽水分离器-爱企查
图片尺寸1074x1417
立式水分离器图纸合集的封面图
图片尺寸285x446
磨煤机动态分离器结构及工作原理
图片尺寸960x720
汽水分离器为压力容器结构碳钢或不锈钢设备,接口型式是法兰结构 dn16
图片尺寸395x443
空调器系统气液分离器-爱企查
图片尺寸1297x1588
一种气液固三相分离器
图片尺寸2034x2610
一种气液固三相分离器
图片尺寸2018x2680
分离器分离器,甲醇,大侠,结构,谢谢480万注册会员,工作日均10万访客
图片尺寸3205x4549
立式两相分离器分离原理:气液混合流体经气液进口进入分离器进行基本
图片尺寸640x480