立式包装机图纸

枕型袋包装液体立式包装机设计- 设计方案图纸 - 沐风网
图片尺寸841x594
一种全自动化立式包装机
图片尺寸1344x1625
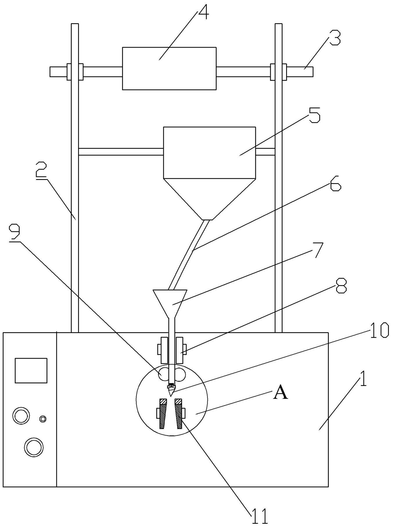
粉剂直螺杆背封立式包装机
图片尺寸988x1572
袋装颗粒包装机的设计资料 - 设计方案图纸 - 沐风网
图片尺寸820x596
cn213566828u_一种具有排气功能的立式液体包装机有效
图片尺寸1353x1813
一种pe膜立式包装机的制作方法
图片尺寸884x1000
哈尔滨包装机/沈阳立式制袋粉体包装机
图片尺寸473x481
一种设有控料结构的立式颗粒包装机的制作方法
图片尺寸1000x722
多头组合秤高速包装机 膨化食品包装机 大型颗粒包装机源头厂家
图片尺寸653x528
cn101181936b_复合膜m形侧边立式包装机有效
图片尺寸1924x2136
一种高速全自动立式卷膜制袋包装机
图片尺寸917x1000
一种便于造型封边的自动化立式包装机的制作方法
图片尺寸475x578
巧克力包装机的设计与工程分析图纸下载_设计方案图纸 - 沐风网
图片尺寸1100x759
一种全自动立式包装机 - cn201611264206.
图片尺寸1000x829
db8320型立式包装机称重控制系统的研究与改进
图片尺寸2684x1610
多批量自动颗粒包装机的制作方法
图片尺寸980x1000
颗粒定量包装机速度快
图片尺寸915x734
亿维自动化立式包装机解决方案
图片尺寸903x607
立式机
图片尺寸458x261
b65b1/36 发明名称 全自动充氮气粉状物料制袋计量充填包装机 发明人
图片尺寸1408x2041