立式搅拌机图纸

立轴式搅拌机装配图cad机械图纸
图片尺寸1024x1448
"立式搅拌机cad结构总图"包含以下主要文件/图纸:立式搅拌机cad结构
图片尺寸820x1128
cn100441384c_混凝土立轴行星式搅拌机有效
图片尺寸1744x1332
大型立式搅拌机厂家结构图
图片尺寸415x428
一种立式胶粒搅拌机的制作方法
图片尺寸934x1000
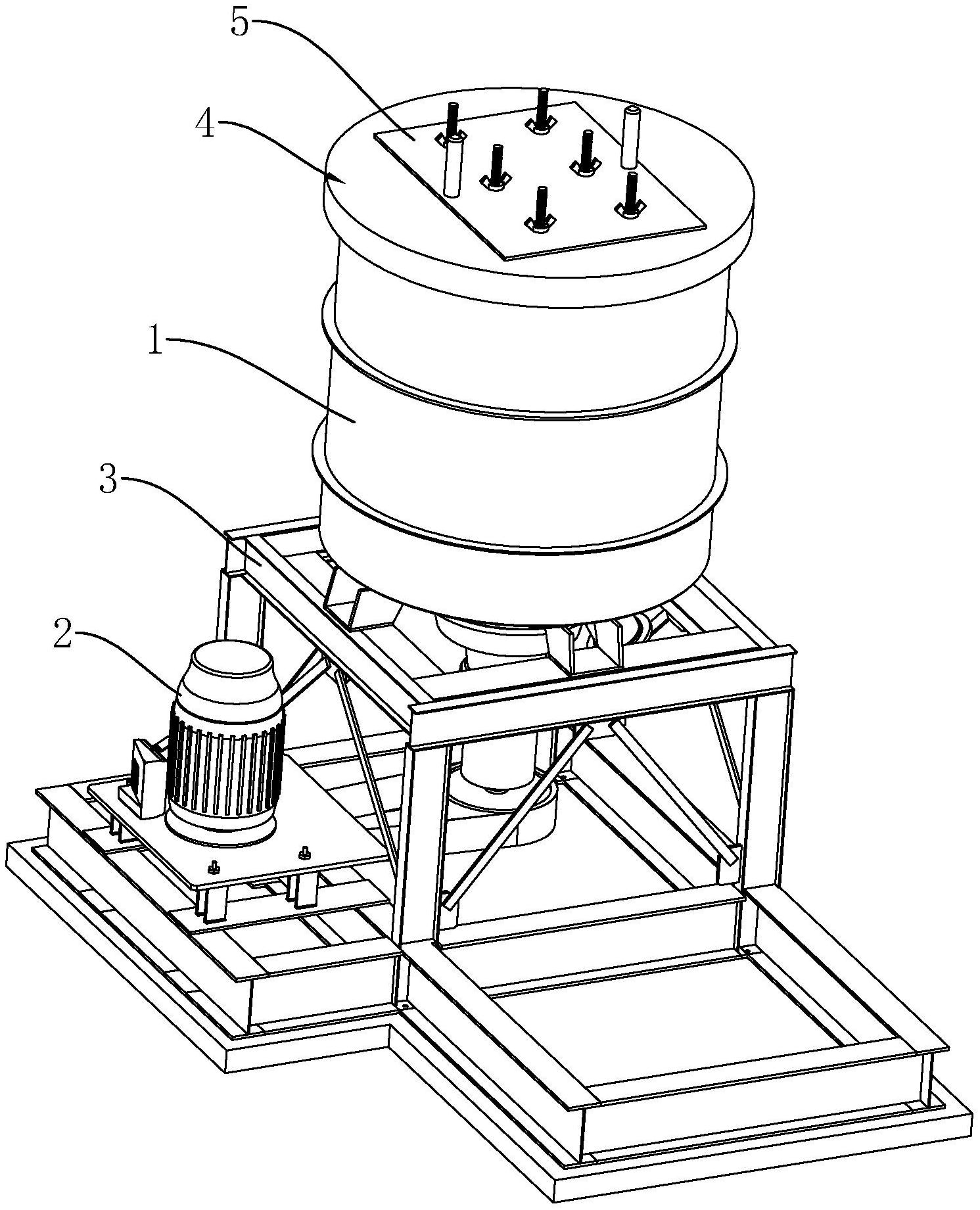
一种立式搅拌机
图片尺寸1491x1841
资源分类 图纸下载 毕业设计 0331-立式絮凝搅拌机设计【全套6张cad图
图片尺寸1154x816
tvm - 大型立式搅拌机
图片尺寸441x383
cn201676654u_一种立式搅拌机失效
图片尺寸1337x1551
cn2352324y_一种立式搅拌机失效
图片尺寸798x926
青岛立轴行星式搅拌机结构特色
图片尺寸800x565
家用500kg 1000kg立式饲料机 搅拌机 粉碎机 一体机舒心饲料机械 1000
图片尺寸780x726
工厂供应立式双层搅拌机 碳钢衬塑桨式搅拌机材质
图片尺寸928x680
一种高效立式搅拌机
图片尺寸1000x910
一种立式螺旋搅拌磨矿机的制作方法
图片尺寸630x899
一种立式螺旋搅拌磨机的制作方法
图片尺寸708x1000
cn201719999u_一种行星式立轴石英石搅拌机失效
图片尺寸2026x1435
牵引立式饲料搅拌机制造技术
图片尺寸2072x1408
cn103144193b_立式高速水泥胶体搅拌机有效
图片尺寸1000x776
立式平口搅拌机
图片尺寸986x1000