立式混合机简图

优质立式浓缩料混合机,多用途糠粉预混机
图片尺寸400x392
立式循环混合机的制作方法
图片尺寸825x1000
一种立式原料混合机制造技术
图片尺寸784x1000
厂家直销 100kg立式混色机 不锈钢混色机 行业品牌
图片尺寸1284x722
体积小,移动方便; ◎可选25kg - 300kg机型,批次混合量均匀
图片尺寸480x276
一种混合机的制作方法
图片尺寸704x1000
cn2395790y_立式三维运动混合机失效
图片尺寸949x930
一种粉末强制搅拌混合机-爱企查
图片尺寸1000x624
立式供料混合机结构简图
图片尺寸321x446
混合机结构图.
图片尺寸697x504
ghj高速混合机
图片尺寸567x301
日本吉田工业-混合机|立式混合机|螺带混合机|螺带式混合机|螺条混合
图片尺寸397x559
syh型系列三维运动混合机的工作原理
图片尺寸750x750
节能混合机 南京滕鑫 eyh 不锈钢可定制
图片尺寸419x300
v型混合机
图片尺寸800x600
一种新型实验室用立式螺带混合机制造技术
图片尺寸672x1000
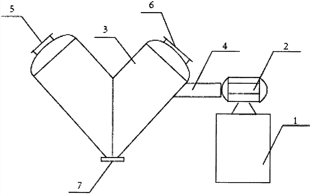
v型混合机示意图
图片尺寸1000x549
一种生物制药用v型混合机的制作方法
图片尺寸1000x761
一种高效搅拌的立式高速混料机的制作方法
图片尺寸932x1000
三维运动混合机的制作方法
图片尺寸906x1000