立式离心机分解图

立式刮刀下卸料自动离心机
图片尺寸428x437
一种立式刮刀中心卸料过滤离心机的制作方法
图片尺寸889x1000
立式离心机(lll 型),见图 1
图片尺寸496x458
立式刮刀下卸料自动离心机
图片尺寸397x320
立式离心机
图片尺寸720x293
ce llgz 平台工业规模刮刀底部排放立式离心机
图片尺寸970x472
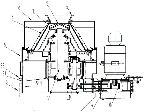
一种立式刮刀中心卸料过滤离心机
图片尺寸1754x1971
实验仪器 生物仪器 离心机 全自动离心机 sgz/pgz系列离心机是立式刮
图片尺寸650x310
图文讲解各种离心机工作原理及应用
图片尺寸497x694
离心机结构_.jpg
图片尺寸860x632
离心机结构维护及故障排除ppt
图片尺寸1080x810
改良型立式离心机的制作方法
图片尺寸936x1000
一种立式离心机制造技术
图片尺寸1000x754
大型立式煤泥离心机及其机座安装方法与流程
图片尺寸594x463
glz系列 -无基础立式刮刀下卸料自动离心机
图片尺寸250x267
cn112108271a_大型立式煤泥离心机及其机座安装方法在审
图片尺寸594x463
cn2323876y_高速立式刮刀下部卸料沉降离心机失效
图片尺寸732x924
il型立式离心卸料离心机
图片尺寸558x545
vm系列立式多级离心泵
图片尺寸1000x1691
具有普通立式刮刀下卸料离心机的所有优点.
图片尺寸640x470