端子结构图

端子结构名称: ① ② ③ ⑤ ④ ① 连锁部(料带) ② 嵌合部 ③前夹片
图片尺寸1080x810
线束连接器端子退针的原因是什么到底是那里出了错
图片尺寸538x346
技术|端子各功能部位及压接类型分析
图片尺寸396x198
端子剖析与良好的压接
图片尺寸649x457
端子结构1.png
图片尺寸807x475
冷压端子结构示意图
图片尺寸516x666
连接器部件的名称(端子) 插入部 接点 接点颈 端尾 切断部 保持部 接
图片尺寸1080x810
黄铜sv叉形预绝缘端子 接线端子冷压端头 y型u型压线耳铜鼻子
图片尺寸750x438
中号旗形端子fycp-03b
图片尺寸3145x2155
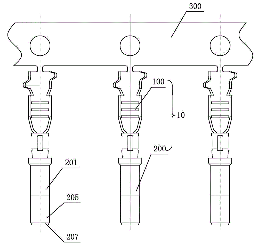
一种电连接器端子的制作方法
图片尺寸1000x821
cn204167544u_一种带式线簧端子有效
图片尺寸1000x954
栅栏式接线端子 间距7.62 两边带耳 扁脚 直插
图片尺寸616x468
jhy1系列导轨式接线端子9a日式黑色端子排栅栏端子两排端子台
图片尺寸1920x1356
一种接线端子的安装结构的制作方法
图片尺寸398x230
8常见端子压着不良图解
图片尺寸1066x805
54 - 螺钉式pcb接线端子,弹簧式pcb端子接子,接线端子厂家,宁波新莱亚
图片尺寸400x524
一种配电柜接线端子结构的制作方法
图片尺寸1000x741
3-sb 插簧端子-插簧端子-温州紫瑞电子科技有限公司
图片尺寸700x419
一种互感器用接线端子结构的制作方法
图片尺寸598x343
一种在卡轨水平或垂直安装的接线端子结构的制作方法
图片尺寸443x325