竹子热弯步骤

学生竹艺作品椅②
图片尺寸1080x1440
竹热弯家具
图片尺寸5472x3648
详细步骤介绍怎么刻这枚竹子学起来吧
图片尺寸1080x1009
青色的竹竿在火上简单加热后,篾匠很容易将其弯曲.
图片尺寸540x282
桌子,圆柱,椅子,凳子,夹子,原生态,仿生设计,竹子
图片尺寸600x450
工笔竹子附步骤
图片尺寸1080x1439
热弯技术的研究与应用主要是想深入了解竹材特性,包括竹子的生长习性
图片尺寸1045x1322
自制竹衣架的方法竹子制作衣架的步骤教程
图片尺寸540x711
热弯技术的研究与应用主要是想深入了解竹材特性,包括竹子的生长习性
图片尺寸1053x1403
寻工记00120140831我啊就是爱瞎折腾
图片尺寸600x799
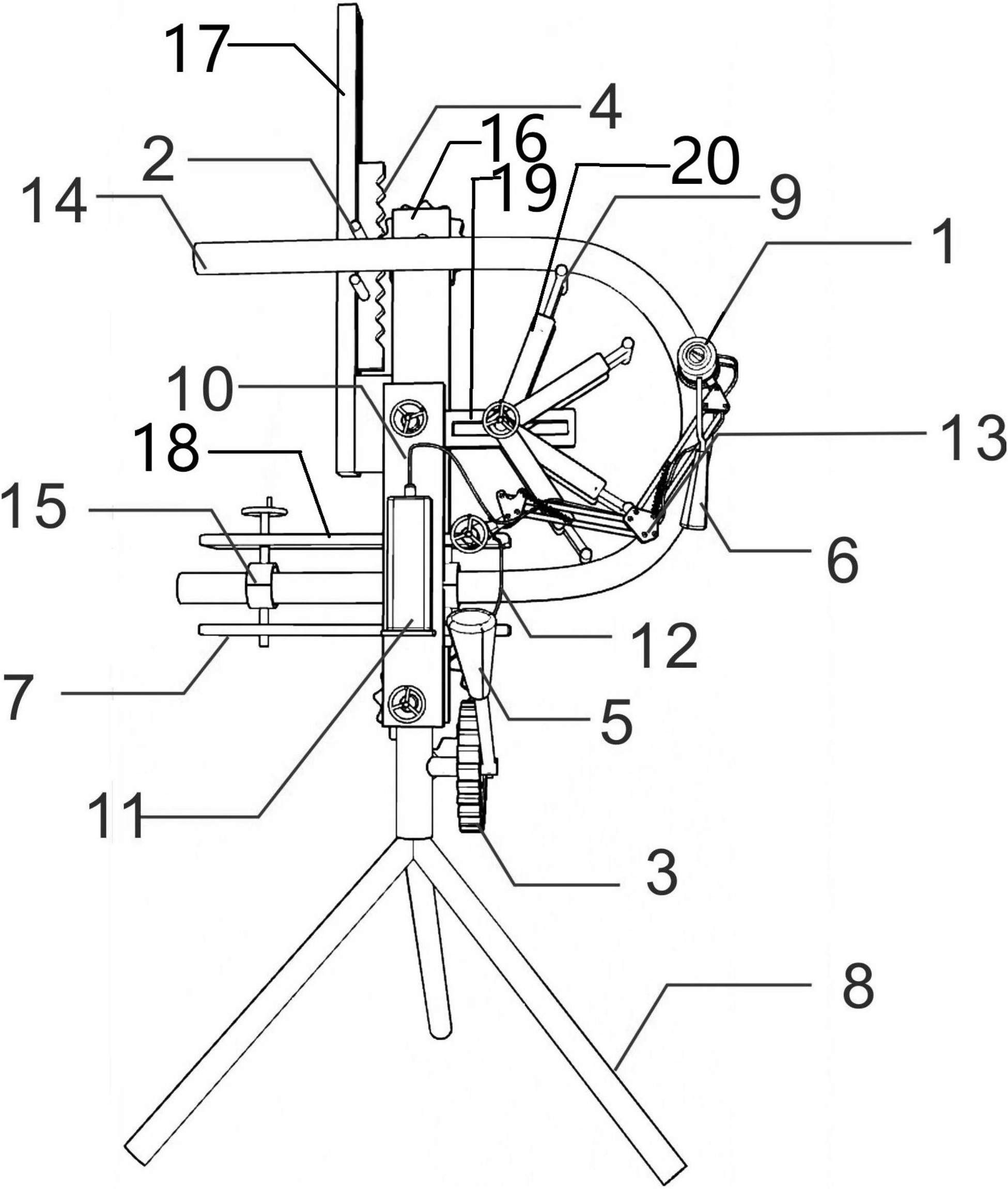
一种辅助热弯竹子的装置 - cn201710542582.
图片尺寸847x1000
100%全竹制作的竹夹,将一片完整的竹片通过热弯技术弯曲成所需要的
图片尺寸600x456
竹子写意画法分步骤讲解新竹画法简单易学学会几分钟一幅画
图片尺寸603x1447
一种辅助热弯竹子的装置
图片尺寸1951x2301
创意手工吃竹子的熊猫含步骤
图片尺寸1080x1080
新苗展台竹片热弯技术的应用研究与实践
图片尺寸1053x1403
的柱子和屋顶中密度纤维板也可以用来做护墙板,你知道他的弯曲工艺吗?
图片尺寸1080x700
竹子工笔画步骤一步一步教你画竹叶和竹竿不同竹子工笔画画法
图片尺寸600x652
吃竹子的小panda彩铅77步骤图临摹
图片尺寸1080x1439
图文教程工笔画竹子画法步骤教程
图片尺寸666x858