笔帽结构

一种新型笔帽及包含其的笔的制造方法与工艺
图片尺寸1000x417
一种可清洁笔尖的笔帽的制作方法
图片尺寸954x1000
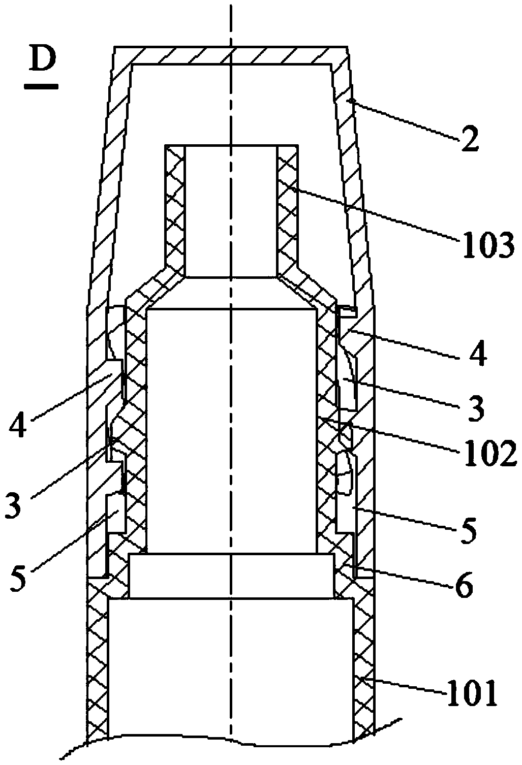
一种智能笔的笔帽结构的制作方法
图片尺寸1000x477
一种智能笔的笔帽结构
图片尺寸1892x914
新型实用圆珠笔笔帽
图片尺寸552x600
笔帽简笔画
图片尺寸400x824
一种智能笔的笔帽结构的制作方法
图片尺寸1000x718
林文老师正姿护眼笔第八代升级款钢笔芯钢笔帽 铅笔头电池盖 笔帽
图片尺寸2083x2355
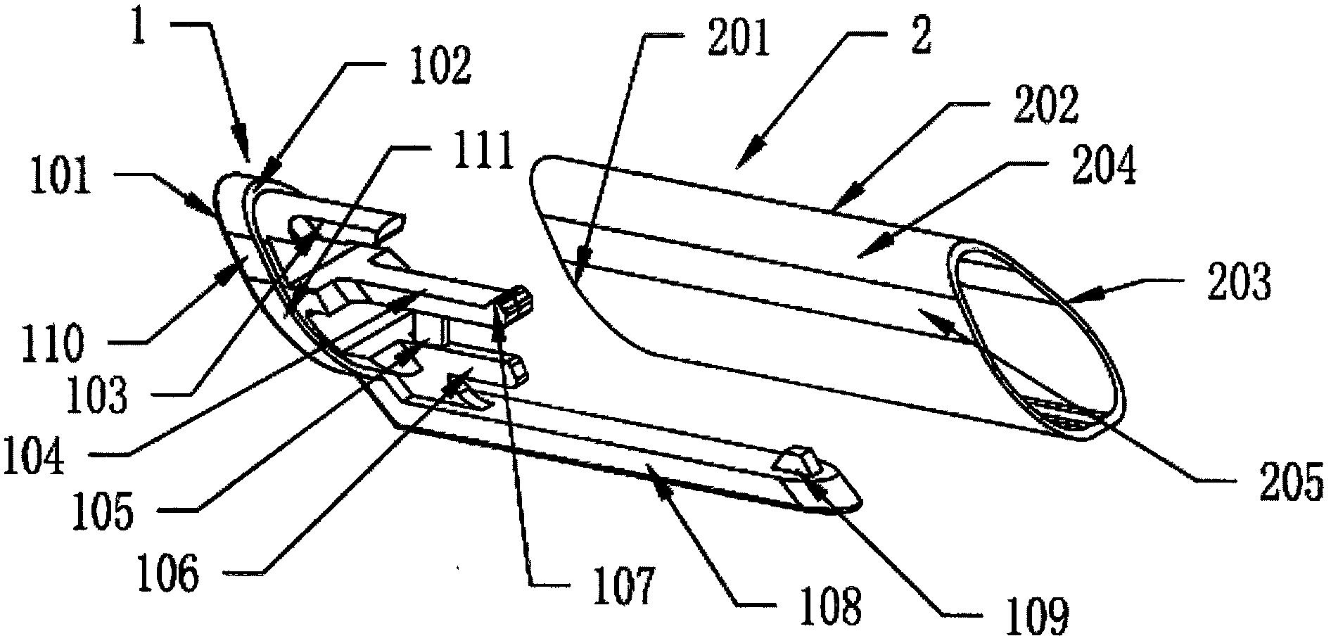
便于脱卸笔帽的笔结构
图片尺寸1027x1506
一种带有书签的笔帽的制作方法
图片尺寸678x322
背景技术:传统的签字笔上的笔帽一般与笔杆为独立结构,使用时打开笔帽
图片尺寸611x1000
笔帽及其笔的制作方法
图片尺寸646x1000
现有笔比绝大多数自带笔帽或者带有按压式的结构,以减少不用时对笔尖
图片尺寸266x443
cn201736593u_不易丢失笔帽的笔失效
图片尺寸1004x1623
圆珠笔头到底有多难造?精度堪比造航母,至今只有三个国家可以造
图片尺寸613x464
这种结构下可以把长笔帽放在托盘凸台内孔道的任何一端,需要取用长
图片尺寸895x1000
笔帽及手写笔的制作方法
图片尺寸1000x794
笔帽及具有该笔帽的笔的制作方法
图片尺寸724x1000
一种笔帽笔夹连接结构以及点阵智能笔的制作方法
图片尺寸644x1000
cn206085690u_3d打印笔笔帽有效
图片尺寸1000x873