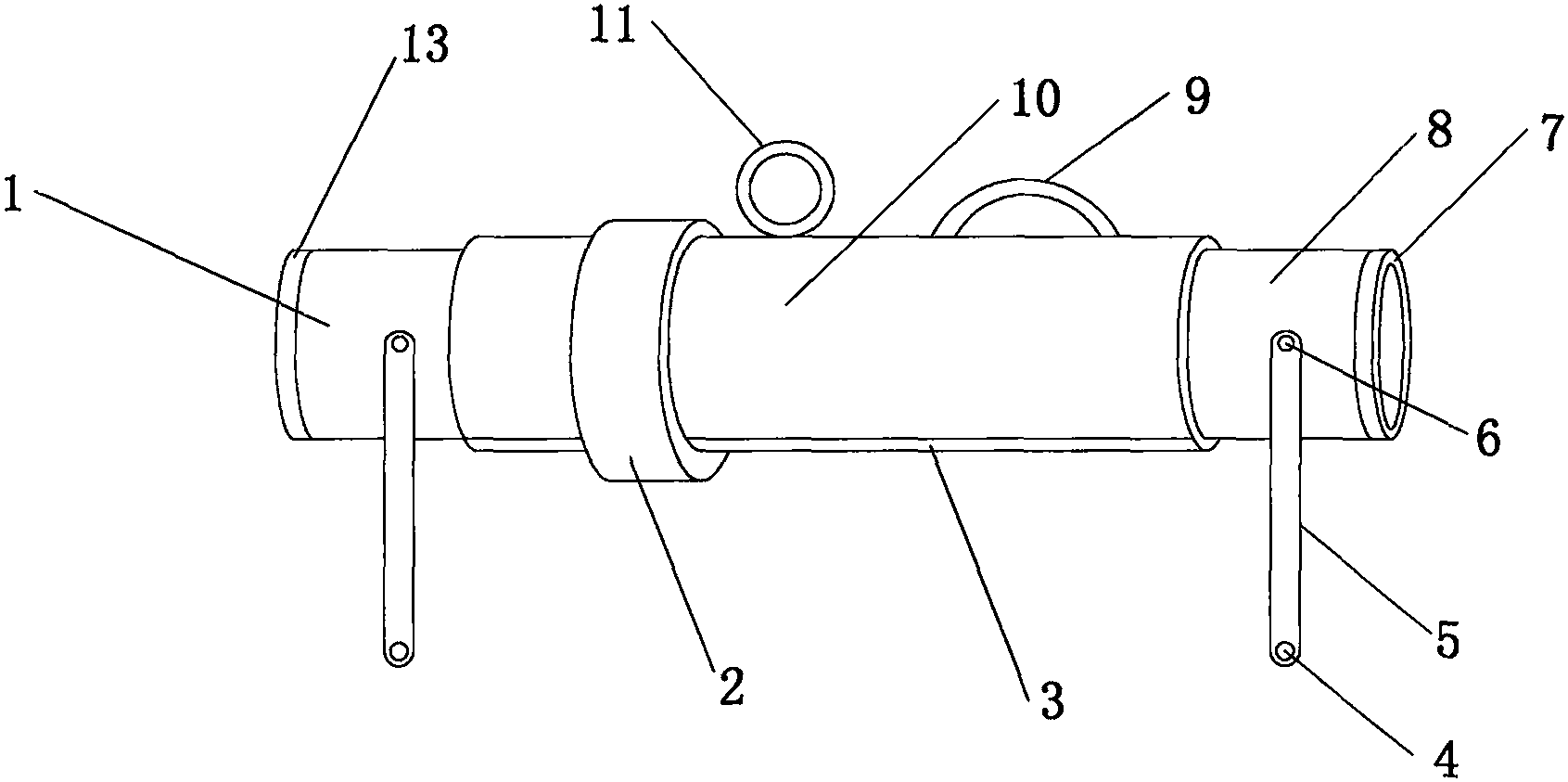
筛管结构图

一种采油用的防堵塞的过滤筛管的制作方法
图片尺寸326x443
拓展:树干和枝条记录的秘密.ppt
图片尺寸800x600
植物导管和筛管的区别
图片尺寸640x360
一种石油开采用方便更换的筛管的制作方法
图片尺寸443x431
cn2742132y_棱形小波纹不锈钢网油气井防砂筛管失效
图片尺寸1800x941
一种直径可变的防砂筛管的制作方法
图片尺寸1000x714
输导无 机物. 筛管由筛管分子组成, 筛管分子是活细胞.输 导有机物.
图片尺寸1080x810
一种石油开采用新型防堵塞式筛管的制作方法
图片尺寸518x428
一种具有自清洁结构的筛管的制作方法
图片尺寸796x1000
一种用于酸化的筛管的制作方法
图片尺寸1000x645
植物筛管和导管的区别
图片尺寸750x400
筛管和导管有什么区别(筛管和导管的异同)
图片尺寸750x537
一种高精密易拆卸不锈钢烧结网用滤砂筛管结构的制作方法
图片尺寸332x444
广泛应用于油井抽油机井泵筒下方,而割缝筛管由于其结构简单,制
图片尺寸1000x472
新型涉及一种用于油气井的防砂结构,特别涉及了一种耐冲蚀防砂筛管
图片尺寸1000x473
一种便于拆装的筛管结构
图片尺寸738x1000
筛管组件下支撑结构支撑梁支撑圈布水装置支座拉筋产品铭牌法兰法兰i
图片尺寸820x567
id="go0dkm5net">筛管,细胞生物学名词,指高等植物韧皮部中的管状结构
图片尺寸662x437
cn207960583u_一种镶嵌式防砂筛管结构有效
图片尺寸1691x843
一种石油开采用结构强度高不易变形的筛管的制作方法
图片尺寸398x291