简单传送带cad图

自动装箱流水线的传送带设计
图片尺寸635x479
流水线输送带物流快递升降式皮带传送机车间传送带输送机小型平行式15
图片尺寸750x910![[分享]42米跨门架资料下载](https://i.ecywang.com/upload/1/img0.baidu.com/it/u=1031443176,3856739117&fm=253&fmt=auto&app=138&f=JPEG?w=560&h=420)
[分享]42米跨门架资料下载
图片尺寸560x420
带式运输机
图片尺寸250x107
delta机器人传送带视觉追踪系统
图片尺寸678x307
如何准确的设计出输送机传送带的精确方案
图片尺寸400x251
沙钢三喜临门_企业_智能化_示范
图片尺寸300x300
逃离特发公司,《蛋仔派对》新派对季关卡速递|玩具|传送带_网易订阅
图片尺寸660x372
苹果iphone16cad图独家曝光机身外观有三大重点变化
图片尺寸660x760
2024款ipadprocad图曝光机身明显进一步增大
图片尺寸1280x720
openai,英伟达重金下注,这家机器人公司凭什么估值
图片尺寸1080x801
动图解说带传送知识大揭秘快收藏
图片尺寸400x328
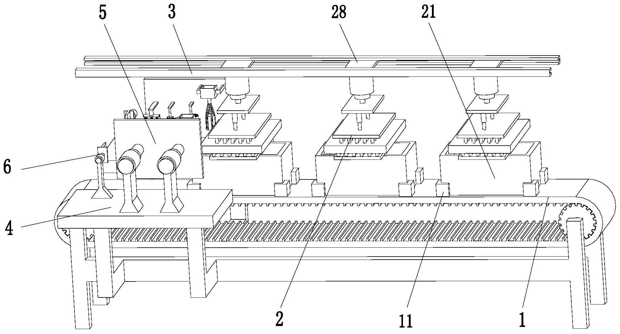
一种胶合板制造自动化封边机
图片尺寸2014x1087
cad五金折弯展开学习(上集)
图片尺寸448x252
建筑设计师的助手快速修改和编辑cad图纸
图片尺寸800x533
活动房围挡施工,人员充足,免费设计,预算,代出cad图纸大理海森钢构
图片尺寸405x720
解析精益生产管理中传送带流水线的几大缺点
图片尺寸566x248
苹果iphone16procad图首曝拍照按钮亮眼63英寸大屏引期待
图片尺寸911x823
按钮_继电器_反转
图片尺寸1080x759
基于双目视觉和动态称重技术的包裹信息检测系统设计|传感器|传送带
图片尺寸660x297