简单的联动装置

通过动画了解1700种机械联动装置 | 开源杂志
图片尺寸347x321
小球联动介绍只是依靠天马行空的想象就能成功制作出小球联动装置吗?
图片尺寸512x287
通过动画了解1700种机械联动装置
图片尺寸364x360
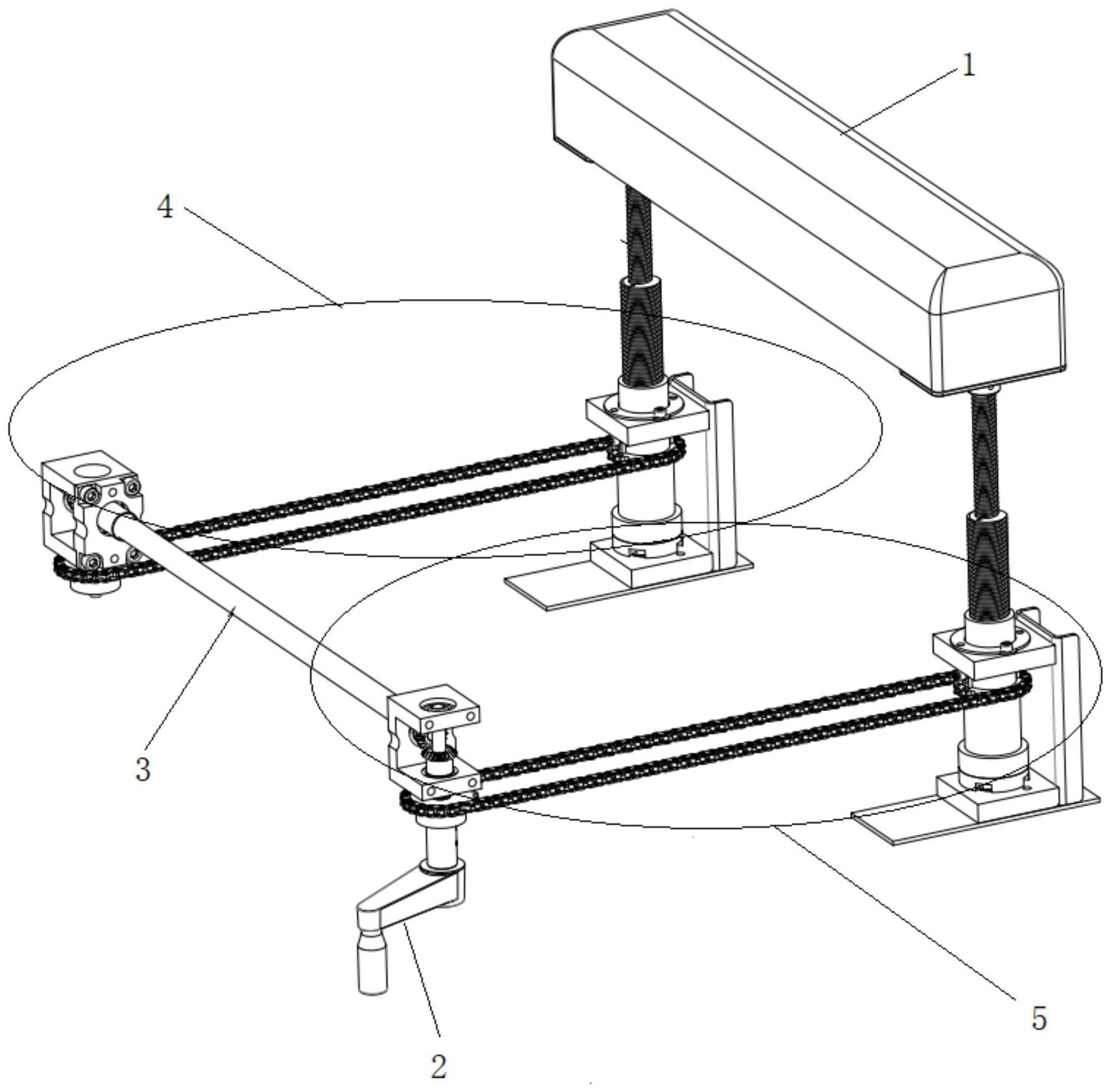
简单实用的四轴联动焊接装置
图片尺寸1895x1233
一种简易式联动装置
图片尺寸1000x913
一种丝杆腰桥顶升联动装置
图片尺寸1760x1731
新型多锁联动装置
图片尺寸2113x1187
用于双电源开关摇摆式机械联动装置的制作方法
图片尺寸1000x793
连杆驱动的直线伸缩 b>联动装置 /b>,齿轮连接多个连杆实现!
图片尺寸1280x718
一种四肢联动式康复训练装置
图片尺寸1703x1468
一种三轴联动装置
图片尺寸1486x1383
一种高精度多维度联动结构装配装置及装配方法 - cn201710690682.
图片尺寸1000x779
4连杆联动装置用于输出旋转
图片尺寸516x480
一种三轴联动装置的制作方法
图片尺寸1000x925
一种平台式电梯轿底安全联动装置的制作方法
图片尺寸444x359
cn206802012u_一种用于飞机的按键式锁扣联动装置有效
图片尺寸1000x935
一种弹簧储能的起身联动装置的制作方法
图片尺寸730x626
三轴联动焊接机
图片尺寸557x597
cn101649641a_座便器冲水联动装置失效
图片尺寸1948x2921
1.限速器-安全钳联动装置的工作原理分析
图片尺寸900x674