简单缩口模

扩缩口模具,定径模
图片尺寸2637x1999
头枕管缩口模-爱企查
图片尺寸1958x1719
钨钢缩管模具 圆管锥度缩径模 硬质合缩口模具
图片尺寸750x750
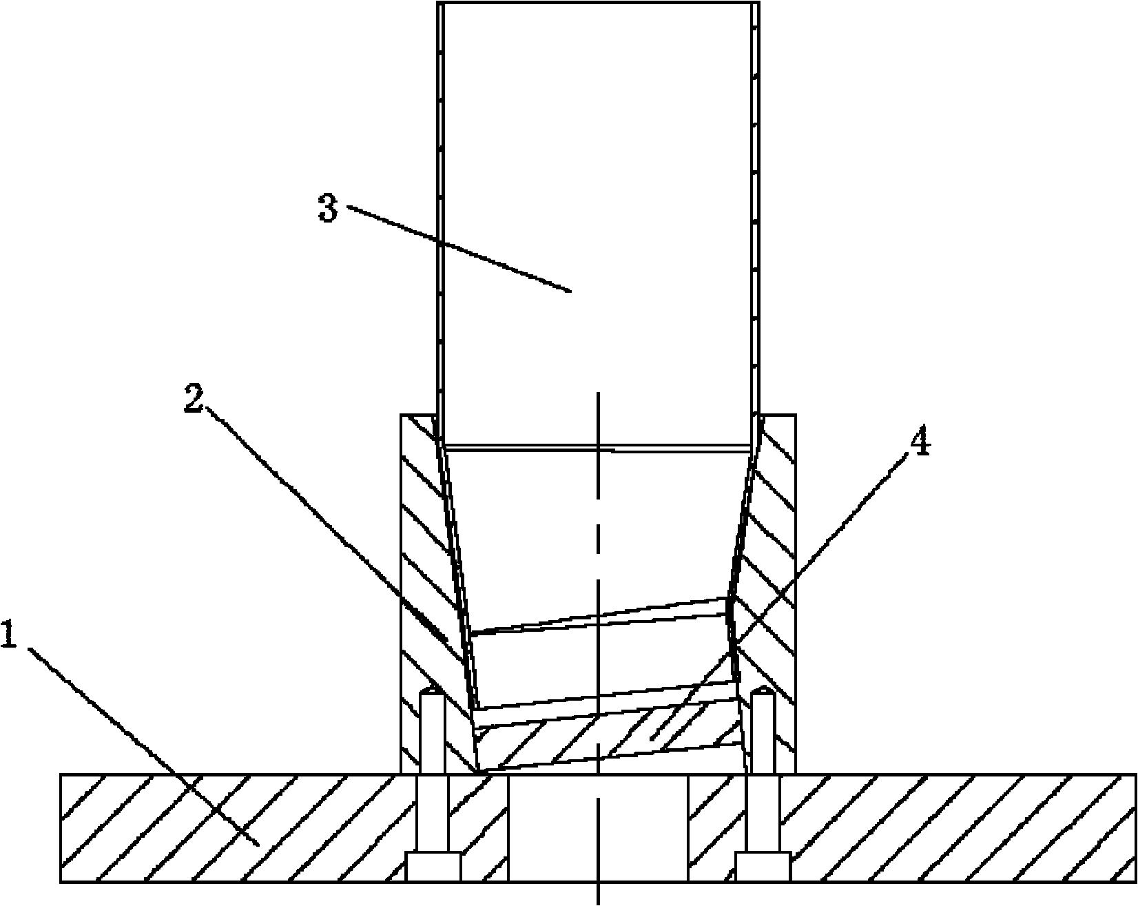
一种新型缩口模
图片尺寸920x1191
德克可定制 缩管模具 缩口模具 硬质合金拉管模
图片尺寸1000x1000
热销供应 缩口模具 金属合金冲压模具 缩口热冲压模具 量大更优
图片尺寸800x800
供应yg8钨钢缩管模具 圆管锥度缩径模 yg11异型管缩口模具
图片尺寸755x755
新款缩口模具设计
图片尺寸305x220
硬质合金拉伸模具,缩管模具,钨钢缩口模具,冷挤压模具冲压模具
图片尺寸760x570
异形缩口钨钢模具定做,圆孔方孔缩管模加工
图片尺寸755x755
广安缩口机模具h13价格
图片尺寸3360x2304
硬质合金缩口模具
图片尺寸1024x673
罐体拼接缩口模-爱企查
图片尺寸532x395
河北厂家生产硬质合金缩管模具 缩口模 条直模具价格低
图片尺寸1136x640
健身器材哑铃模具 圆形拉伸模具 圆球缩口模具拉伸模具厂家
图片尺寸750x750
缩管机模具缩口模具束管缩管模钨钢缩管模硬质合金缩管模缩径模具
图片尺寸800x800
佳和供应kg3钨钢镶块缩口模头kg5镶件 分瓣式缩管口模具
图片尺寸755x755
汽车底盘零部件缩口模具及其缩口脱模工艺
图片尺寸1407x1290
硬质合金缩管模具
图片尺寸398x398
尾管缩口模-爱企查
图片尺寸1652x1315